Evansville Area Inventors and Their Inventions
Researched and Written by Ruth Ann Montgomery
The first Evansville area person known to have applied for a patent with the United States Patent Office was John P. Van Vleck.
Van Vleck was an early Cooksville farmer and wagon maker. He was born, March 28, 1818 in Saratoga County, New York and moved to a farm
near Cooksville in 1846 with his wife Rachel Lockey Ashton. The couple had four sons.
Two of his sons served in the Civil War. Melvin James Van Vleck was a member of the Wisconsin 40th Infantry, Company C. He died on July 16,
1863 in Memphis, Tennessee, while serving on the western front of the Civil War. The second son, Dudley served in the same unit, enlisting for
one hundred days, in 1864.
The youngest sons, Mortimer and Eugene, assisted their father on the farm and in the manufacture of his inventions.
Before his death on September 7, 1910, John P. Van Vleck filed and received patents for four inventions or improvements to existing products, all
related to agriculture. Van Vleck’s first patent, U. S. Patent Office number 22,260, was issued on December 7, 1858 for an improvement to saw-
sets. The saw-set was a common tool in farmers’ workshops.
Van Vleck knew that craftsmen and farmers rarely disposed of a saw that could be sharpened or repaired. On the western frontier, as Wisconsin
was called during the settlement period, farmers sharpened their own saws. After a dull saw was sharpened, the saw-set was used to adjust the
set of each tooth.
Van Vleck hoped that farmers and other craftsmen would find the tool useful in their own workshops. With the improvement, “saws may be set
rapidly and in a perfect manner, even by persons inexperienced in such matters,” Van Vleck said in the text of his patent application.
The wording of the patent was formal: “To all whom it may concern: Be it known that I, J. P. VANVLECK, of Cooksville, in the county of Rock and
State of Wisconsin, have invented a new and Improved Saw-Set; and I do hereby declare that the following is a full, clear, and exact description of
the same, reference being had to the annexed drawings…..”
A vertical and a top view of the treadle saw-set accompanied the description of the tool. The drawing was witnessed by P. P. Livermore and E. J.
Stoneburner and the text of the patent was witnessed by John W. Fisher, C. A. Howard, and H. I. Gunn, all Cooksville neighbors of the Van Vleck
family.
Today there are many examples of treadle operated saw-sets held in museums and by antique tool collectors. Whether Van Vleck’s improvement
to the existing saw-sets was manufactured by him, or used by other manufacturers is unknown.
John Van Vleck’s next invention was an improvement in corn planters. His hand seeder received patent number 62,380 on February 26, 1867.
Van Vleck said in the text of his patent that this was “a new and useful machine for planting corn and other seeds.”
Van Vleck referenced another corn planter designed by Jacob Morris, Lincoln, Missouri, in 1865, as the model for his improvement. “I am aware
that pivoted legs, cloth sides, a seed-box and slide, are parts common in hand corn planters, particularly as described in a patent granted to
Jacob Morris, dated June 13, 1865,” Van Vleck said in his patent application.
Van Vleck was not alone in seeking patents for improvements on Morris’ hand seed planter. John M. Reeds, also of Lincoln, Missouri received a
patent for an improvement on Morris’ machine the same month that Van Vleck received his.
In a time when small manufacturers could produce and sell their own products, locally, there would have been little competition for Van Vleck, if he
and his sons produced the hand held corn planters in Rock County, Wisconsin.
Van Vleck did not rely on his inventions as his sole income. In the 1870 census of Porter Township, John Van Vleck is listed as a wagon maker.
Three years later, in the Rock County Atlas, he is listed as the manufacturer of the N.W. planter. By 1880s, the census gives Van Vleck’s
occupation as a manufacturer of corn planters and gates. His sons, Eugene, age 37, and Mortimer, age 31 were single and living with their
parents. Eugene was working in his father’s shop and Mortimer was running the family farm.
By the late 1870s, Washington, D. C. patent attorneys advertised in the Evansville Review, When Van Vleck applied for this third patent, he hired
patent attorney, S. S. King to process the papers.
In 1881, Van Vleck received his third patent. The patent was granted on April 5, 1881, with the number 239,803. This time his corn planter had
been redesigned as a hand-held combined corn and pumpkin seed planter. The witnesses for the text of the patent were his neighbors,
Benjamin S. Hoxie, a building designer and contractor, and Hoxie’s wife, Ellen A. Hoxie,
Many farmers did companion plantings of corn and squash and Van Vleck believed his device was superior to similar hand planters for seeds of
different sizes and shapes. The planter was designed with a tin or sheet metal seed box with two compartments. Each compartment had wood
bases. The design of the interior of the seed box allowed the slim seeds of the pumpkin and squash to pass through the planter without breaking,
which made them useless.
Van Vleck claimed that existing planting devices with two seed boxes were cumbersome to handle. Van Vleck said, “To remedy the above defects,
and at the same time to provide a simple, durable, and more cheaply constructed and easily operated hand seed-planter, is the object of the
present invention.”
Van Vleck worked over the next few years to perfect another planting machine. He changed and remodeled a potato planter until he believed it
was unique enough to apply for a patent. Then he hired the law firm of Johnson & Johnson to perfect the patent application.
By the time Van Vleck received his fourth patent, he was well known to Evansville newspaper men and the farmers in the area. In 1885, Van Vleck
applied for his fourth and final patent and it was issued the following year, on September 14, 1886. Benjamin S. Hoxie again witnessed the patent
application, as did Hoxie’s daughter, Cora.
A drawing and description of Van Vleck’s potato planter appeared in the January 16, 1885 Evansville Review. The new planter was a horse drawn
machine that could plant five acres of potatoes a day. Two boys and a team of horses could easily operate the machine, according to the news
report.
The machine was a two-wheeled vehicle with a driver’s seat. Behind the driver was a box to hold the potatoes and a seat with a footrest for a
young boy. The person in the back of the machine fed the potatoes into a hopper with a revolving cutting plate. The potatoes were cut and
dropped at regular one-foot intervals into the prepared ground.
“By the old method of planting potatoes it costs from three to four dollars an acre, to say the least, while with this implement, two boys with a team,
can easily plant five acres a day—marking, cutting, dropping, and covering in the most perfect manner,” the Review report stated. The simple
construction of the implement made it more durable and easier to operate.
The machine also had other advantages. Farmers often had to cut the potatoes several days before planting, store them in barrels or boxes that
in hot weather became very warm. This allowed diseases to attack the potatoes before they were planted. The farmer planted the potatoes, only
to find that they rotted in the ground. With the new planter, the potatoes were cut as they were planted.
In September, 1885, Van Vleck took his horse-drawn potato planter to state and county fairs to advertise his new product. Van Vleck sold the
machines for thirty dollars each, and declared it was a bargain. The potato planter “would soon pay for itself on any farm”
Whether Van Vleck met with financial success with his inventions is unknown. Although Van Vleck lived for another 25 years, no more patents are
known to have been issued to him. His obituary in the September 8, 1910 issue of the Review does not mention his inventions. Van Vleck was
remembered as “a man of retiring habits but kind and thoughtful of his friends. He lived a clean and upright life and was liked by all who knew him.”
In the 1860s two more Evansville area inventors received patents. The next reported patent to be approved for an Evansville inventor was given
to Harrison Libby. Born in Maine, Libby arrived in Evansville in 1855, with his parents and several brothers and sisters. In the 1860 census his
occupation was listed as shoemaker.
On June 13, 1865, Libby received patent number 48,188 for an improvement to the design of a woman’s shoe. “The present invention relates
exclusively to boots worn by ladies or misses, and consists in forming those portions of the boot incasing and surrounding the ankles and lower
portions of the person’s legs.”
Libby’s idea was to place a piece of elastic webbing at the ankle of the boot to make the boot more comfortable to wear and still allow the boot to
fit snuggly at the ankle.
John Butts (also spelled Buttz) was a Town of Union farmer. In the census records, he listed his birthplace as Pennsylvania and his occupation as
blacksmith. Butts developed a device for farmers to use on their hogs to keep them from rooting under a fence or gate and escape from their
enclosure. The nose piece consisted of a roller attached to a spindle. The spindle ends were sharpened to points and inserted in the hog’s
snout. When the animal tried to root with its snout, the roller slid over the ground.
Butt’s application for a patent was signed by Evansville attorney, David L. Mills and J. A. Freeman. The patent number 67,952 was approved on
August 20, 1867.
The inventions of Libby and Butts were the only known patents received by either man.
Engines, windmills, plows, gates, pumps, measuring funnels, sewing machines, stump pullers, and mop-wringers all caught the imaginations of
Evansville inventors in the 1870s. A general store clerk, newspaper editor, two blacksmiths, bank cashier, photographer, physician and hardware
merchant, each submitted and received patents during this decade.
Dr. Eugene W. Beebe, an eye and ear specialist, was married to Frances Spencer, the daughter of Henry Spencer, an early Evansville settler.
Beebe had studied with some of the best eye surgeons in the United States and performed successful surgeries to correct eye problems.
While living in Evansville Beebe’s imagination drifted away from his occupation and his early inventions had little to do with his role as a physician.
First he patented an improvement to a sewing machine feed mechanism. Bebee had started working on his machine in the summer of 1872. An
article in the Evansville Review, August 14, 1872, stated: “Dr. Beebe can invent a sewing machine as well as dispense little pills. We noticed a
rough model for a sewing machine that he is getup, which looks as though he had really studied out an entirely new principle, for that useful
household implement."
Beebe’s The application was made in March and approved in May 1873, with Patent No. 139,040. The design controlled the length of the stitch
and the mechanism was cushioned to control the noise of the sewing machine.
Five years later, Beebe submitted a patent for an improvement to a farm gate. The patent application was witnessed by Evansville hardware
merchants Caleb Snashall and L. M. Mygatt.
Allen S. Baker & Co.
With the exception of two years that Baker served in the Civil War, his entire life was spent in Evansville. Baker's mother and father, John and
Jemima Robinson Baker came to Union township in the 1840. Allen Baker, was born in 1842.
Allen was one of nine children, seven sons and two daughters As a young man, Allen was an apprentice to a blacksmith. When he was just
nineteen years old, the Civil War began and Baker was determined to join the first company of Wisconsin volunteers but the quota for the first
regiment was filled before Allen arrived and he was sent home.
A few days later, a recruiting officer came to Evansville to sign up volunteers for the second regiment. This time, Baker was accepted, along with
several others from Union township. Fourteen men from Union township were assigned to Company H of Wisconsin's Second Regiment.
Allen Baker was one of these. The Wisconsin Second Regiment was part of the famous Iron Brigade and took part in some of the bloodiest battles
of the Eastern Front of the Civil War.
Allen Baker was present at many of the famous battles of the Civil War, including Gainsville, Fitzhugh Crossing, Chancellorsville and Gettysburg.
He was wounded twice. At the battle of Gainsville in August 1862, Baker was shot in the shoulder and sent to a hospital at Philadelphia. His
friend, Theodore Sutphen, was killed in that same battle on August 28, 1862. Sutphen was the first Evansville soldier to die in battle during the
Civil War.
While Allen was confined to the hospital in Philadelphia, the Southern forces invaded Maryland and during the battles of South Mountain and
Antietam, even the wounded in hospitals were needed as volunteers to guard the railroads between Philadelphia and Washington, D. C. Baker
volunteered and served with a small unit near Newark, Delaware.
A widow invited the young men into her home and the soldiers befriended her son, Robert Sayers. The young Sayers would often spend time
with the soldiers as they guarded the railroad. One morning Robert accidently shot himself and the soldiers carried him to his home.
Robert's sister, Margaret Sayers, was called home from Wilmington, Delaware, to take care of her brother. Baker and the other soldiers continued
to visit the Sayer family during Robert's confinement. Robert recovered from his wounds. During Allen Baker's visits to the wounded young man,
he became acquainted with Margaret Sayers and fell in love with her.
Eventually, Baker was well enough to return to his regiment. The two young people, who had met in such an accidental way, continued to send
letters to each other.
Within a few months after Baker rejoined his regiment he was wounded again. This time his wounds were serious. On the first day of the battle for
Gettysburg on July 1, 1863 Allen was shot in the abdomen. The bullet hit his hip bone, bounced off the bone and became imbedded near his
spinal column. Surgeons were afraid to operate to remove the miniball because it was located very close to an artery.
The ball remained in place for many years, eventually working its way to the surface. On March 19, 1889, "the bullet appeared at the surface,
punctured the skin and was removed by Mr. Baker easily without surgical aid." The small miracle was noted in Baker's biographical sketch in the
Rock County Biographical Album issued in 1889.
The injuries from his wound at Gettysburg made Allen eligible for a discharge from the Second Regiment. He returned to Evansville and once
again worked as a blacksmith. Margaret Sayers and Baker continued their correspondence. On March 23, 1865, Allen and Margaret were
married in Newark and returned to Evansville to live.
Allen Baker’s blacksmith shop was just a few buildings west of the Evansville Review office and Isaac Hoxie, the Review editor took a great interest
in Shaw and Baker’s idea. Hoxie gave the two men ample coverage in his weekly newspaper.
Before applying for the patent, Shaw and Baker submitted their idea to several influential Evansville residents and Hoxie offered his office as the
meeting place. Allen Baker took charge of the meeting and Isaac Hoxie acted as secretary.
Baker and Shaw presented a model of their engine and pointed out its improvements over existing models. Then they asked for investors in a firm
to be known as the Baker and Shaw Steam Engine Manufacturing Company.
The patent for the “Improvement In Rotary Steam Engines” was submitted in April 1873 and approved in October of the same year. By the time
the patent number 143,723 was approved, the Baker Manufacturing Company had changed their focus and manufactured of windmills and did
custom foundry work. The foundry and machine shop often produced machines that others had invented.
After describing in detail the materials used in the manufacture and the improved operation of the pump cylinder, Baker said in his concluding
remarks, “As thus constructed, my deep-well cylinder is not liable to get out of order, lasts long, and is certain and efficient in its operation.”
Baker and his employees continued to submit patents related to water pumping equipment, windmills and engines. Baker’s children and
grandchildren also were imaginative and tackled many problems and received many more patents over the years.
Another blacksmith, James R. Whitney, a Magnolia resident also submitted patent applications in the 1870s. Whitney owned the Magnolia Plow
Works and advertised in the Evansville Review. Whitney stated that he made “as good a steel plow as can be found in the country. The
testimony of farmers everywhere who have used my plows, fully sustains me in asserting that the Whitney plow has few superiors or equals in the
West. It will turn a beautiful furrow and [is] warranted to scour in any soil.”
However, Whitney was not satisfied with the plows and requested a patent for an improvement to the riding plows, also known as sulky plows.
Farmers preferred to ride the plows rather than walk behind a horse-drawn walking plow.
Whitney’s plow was made of iron, with the exception of the spokes of the wheels and the whiffletrees and pole. Whitney claimed that his improved
sulky plow would move easily through the field, with the driver seated so that he could easily see the plow. The operator could raise and lower the
plow to get the desired depth. The driver could “watch his work and his team at the same time without turning his head.”
Through the columns of the Review, Whitney invited farmers to see a demonstration of his new plow at the Horace Henderson farm. The new plow
was given a trial run on August 18, 1876, nearly a year before he applied for a patent. For the demonstration, Whitney had Jonathan Cook,
another Magnolia farmer, work the plow.
According to the report in the next issue of the Evansville Review, Cook had cut a furrow 14 inches wide and six inches deep “and turned the
furrow without a single flaw or break.” Since the plow was very heavy, a draft horse weighing at least 275 pounds was needed to pull the plow.
The Review reporter gave the new idea a good recommendation: “We should say that Mr. Whitney has struck a “bonanza” if properly worked
out.” Whitney hoped for some investors to get a plow manufacturing plant in operation.
The Review suggested that investors would do well to buy stock in Whitney’s enterprise. “Farmers and business men usually have a little spare
capital to invest where results are sure to follow. Mr. Whitney is an old plow maker and knows what he can do provided capital will aid him to swing
the sledge or blow the bellows.”
To encourage more to invest in the plow manufacture, Whitney held several more trials of his machine and challenged others to bring plows to
compete against his invention. James R. Whitney’s patent was submitted in October 1877 and granted on February 18, 1879.
In the late 1870s there were many Evansville area men who received patents for improvements to inventions. Each man chose a different type of
apparatus, some related to their primary occupation, and some that were far removed from their day-to-day work. Many of the inventors were
sons and daughters of early pioneers, and received at least part of their education at the Evansville Seminary.
Caleb Libby, a younger brother of an earlier inventor Harrison Libby, started in business as a carpenter. Libby was born in New Hampshire in
1846 and came to Evansville with his family in 1855. He attended the public schools and the Seminary in Evansville and in 1864 enlisted in
Company D of the 40th Wisconsin Volunteers, Union Army in the Civil War.
At the time his first invention was patented, Libby had a carpenter shop in Evansville and specialized in doors and window sashes and blinds. His
shop was on the second floor of the Smith & Ide Drug Store on West Main Street.
Caleb Libby applied for his first patent, on April 7, 1873, and it was approved on the 29th of the same month. The patent was for an improvement
in furniture polishes. The polish was a combination of linseed oil, turpentine, dragon’s blood, rosin, alum, iodide potassium, sulfuric acid and nitric
acid.
His description included the proportions of each ingredient and the mixing instructions: “First put the oil and turpentine into an earthen vessel;
then pulverize the dragon’s blood, rosin, alum and iodide potassium to a fine powder. Stir this powder slowly into the oil and turpentine; then add
the sulfuric acid, slowly stirring continually. Let the mixture stand ten hours; then add the nitric acid. Slowly stir the mixture while adding. Apply
with a sponge or cloth”
Caleb Libby’s second invention was an improvement to a mop wringer, in December 1876. Two months later, in February 1877, Libby received
notice from the U. S. Patent office that his application was approved
Libby assigned one-half of his rights to his invention to George D. Potter. Potter was the Chicago & Northwestern Railway Agent at the Evansville
depot and also operated a hay warehouse near the depot.
A few months after receiving the patent for the mop wringer, Libby advertised in the Evansville Review for agents to see the “Universal Mop
Wringer, and other new articles.” Agents could receive samples of the wringers by sending 75 cents to C. A. Libby& Co. Evansville, Wisconsin
Libby’s third patent was for a spring bed. The head of the bed could be raised and lowered. “The object of my invention is to furnish a cheap,
durable, easy wood-spring bed, which may be raised at the head, also easily reversed to keep it in the best possible shape,” Libby said in his
patent application that was approved on November 9, 1880.
Evansville physician, Dr. Charles M. Smith was one of the witnesses to the application. Libby no doubt hoped the invention would improve his own
health, as he suffered from epileptic seizures and chronic health problems resulting from his service in the Civil War.
Libby manufactured the beds under the business name of C. A. Libby & Co. According to Libby’s advertisements they were the “nicest, easiest
beds to sleep on there is made. It is made all of wood; any part can be replaced easily and it is the cheapest bed in the market. The beds sold for
$3 each and Libby allowed customers a 30-day free trial.
The Evansville Review editor, Isaac Hoxie, was presented with one of Libby’s beds. Hoxie told his readers that the bed “beats all the spring beds
we have every tried and you can adjust it to any desired position so easily.” According to Hoxie, the beds were being shipped all over the country
and Libby’s enterprise was a success.
Apparently Libby’s competitors felt differently and spread rumors that the beds did not meet customers’ expectations. Libby chastised his critics in
an advertisement in the Evansville Review: “Having been informed that certain competitors in the Spring Bed business have taken pains to
misrepresent and say what they could detrimental to our bed, we take this method of thanking them very kindly for the free advertising they have
given us and assure them we want no better recommendation f r any article than to know that our competitors are fighting it in that manner.”
“If they won’t create a demand for them by their merits, we shall never descend to misrepresenting competing beds for the sake of selling ours,”
Libby stated at the end of the advertisement. Several months after placing the ad in the Review, Libby started a competing weekly newspaper,
The Enterprise and continued to promote his mob wringer and spring bed in his own advertising section.
In 1880, the Wisconsin State Fair was held in Madison and Evansville inventor, Caleb Libby entered his spring bed design into the competition.
He was awarded a silver cup and saucer and a certificate by State Fair judges.
Libby, like many of his contemporaries, was a renaissance man. In 1881, he became the owner and editor of the newspaper, The Enterprise and
later also published The Tribune. The Enterprise was printed on Wednesday and the Tribune on Saturday in the early years.
The news printed in one paper was reprinted in the next edition of the other paper, with more up-to-date news in adjacent columns. Libby
supplemented the income from his newspaper business by serving as a pension attorney for Civil War Veterans and widows who want to apply for
veterans benefits. He also was a real estate agent, and an agent for products that others had invented.
Prior to Libby’s application for his spring bed contraption, a Magnolia inventor, Don D. Osborne, designed an improved box spring bed. Osborne
described his improvement as a “spring bed-bottom that will be light, simple and easy, readily kept clean and that can be easily transported.” The
U. S. Patent office agreed and Osborne received patent number 199,096 on January 8, 1878.
Osborn assigned one-half of the rights to the invention to Warren Howard. Warren Howard was a Magnolia resident and store owner. He was
also a former student at the Evansville Seminary, and a classmate of Evansville inventor Frank Winston.
For a small village, Magnolia attracted an unusual number of inventors, but had limited facilities for manufacturing. When James Whitney’s
Magnolia Plow Works stopped operation, Osborne and his partner, Warren Howard, took over the building for their spring bed manufacturing
company.
For several years, Osborne and Howard operated the spring bed manufacturing company from the “old landmark” or the Whitney blacksmith shop
and hall in the village of Magnolia.
Three years after the improvement was patented, in 1881, Osborne and Howard gave up the mattress operation and opened a hardware store in
Albany. Warren Howard eventually moved to Marshalltown, Iowa.
Another Evansville inventor, Frank H. Winston was a clerk, working for his father Nelson Winston in the corner store at 1 West Main, the Winston &
Bennett general store. In 1876, Frank Winston invented an improvement to a funnel that could be used in measuring liquids.
The witnesses to Winston's invention were John C. Sharp, a local banker and another hopeful inventor, and Charles L. Burnham. The patent was
filed in February 1876 and issued by the U. S. Patent Office in June 1876, with the patent number 178,697. Winston’s invention was designated
an “improvement in combined funnels and measures.”
Frank moved to New Mexico in 1882 and was a merchant, rancher and miner. He served in the New Mexico Territorial Legislature in the late
1890s.
Two inventors joined forces in the late 1870s, Almeron McKenney and John C. Sharp. At first, Sharp was only involved as an investor in the stump
puller designed by McKenney.
In 1876, Sharp was a cashier in the Bank of Evansville. When Sharp and the bank president, Lloyd T. Pullen observed the operation of the
McKenney stump puller, they decided to invest in the venture. They traded land for the opportunity to sell the McKenney’s grubers.
Both Sharp and Pullen knew the value to farmers in gaining more land for cultivation. Clearing trees from land was hard work and took a good deal
of the farmer’s time. Trees were cut, leaving a stump that needed to be pulled from the ground. By using a team of horses and one of the
McKenney stump pullers, a man could clear a field quickly and with little physical effort.
Patent number 188,654 was issued to McKenney on March 20, 1877. McKenney was not new to the business of inventing. In addition to the
stump pullers, McKenney had also received patents for improvements in iron rails for the railroads.
The 1877 patent was an improvement on two previous patents obtained by McKenney when he lived in Ohio and later in Berlin, Green Lake
County, Wisconsin. The 1877 application included two pages of drawing, showing a section of the stump pulling machine, gears, and hooks. The
new design operated well when there were clusters of saplings, willows and alders. By making adjustments the stump puller could also be used to
remove larger old stumps.
McKenney placed several orders with the Baker Manufacturing Company in Evansville to produce the new grubbers. The early sales were
successful and John Sharp submitted his own application for a patent. Sharp’s design was for an improvement to the anchor chains and driving
gears of the machine.
Sharp had an office in the bank for sales of the stump puller and also kept his job as the cashier at the Bank of Evansville. McKenney moved on
to Chicago and continued to submit patent applications and received several more over the next few years.
John C. Sharp was also taken with the inventor’s life and in 1878, applied for a patent. He hired patent attorneys Baldwin, Hopkins and Peyton to
help process the patent. Local pharmacists, Dwight C. Griswold and James V. W. Sonn witnessed the text and Evansville bricklayer, George W.
Brink witnessed the drawings.
The new invention was an improvement to the stump-extractor that he sold on behalf of Almeron McKenney. Sharp’s patent described the many
ways that the stump puller was an enhancement of earlier versions of the stump puller.
Drawings suggested improvements to gears, chains, and hooks for the new stump pullers.
Chains, springs, and roller bars could be adjusted so that the machine could be adapted to field conditions. There were also shields to protect the
legs of the draft horses from catching in the chains of the machine. The patent was granted on August 6, 1878 with the number 206,837.
The following year, John Sharp worked with another Evansville inventor Oscar I. Luce and Jerry A. Hovey, from Mankato, Minnesota to submit an
invention to improve railroad car couplings. The three men claimed that their invention made it easier to attach railroad cars of different heights
so that the couplings did not come apart. The patent office approved the application December 23, 1879 and assigned the number 222,785.
Then the bottom fell out of the sales of the stump pulling machine. One morning in January 1879, word spread through the business district of
Evansville that Cashier J. C. Sharp had failed in the grubber business. “It was a surprise to many, but not so to knowing and suspicious ones,” the
Evansville Review reported in its January 8, 1879 issue.
The Baker Company and the Bank of Evansville were listed as Sharp’s principal creditors. Pullen acted quickly to notify Evansville citizens that
their money was safe in the bank and that the bank was solvent. He persuaded several prominent businessmen to endorse the statement that the
bank had ample funds to cover any demands by their depositors.
Sharp was embarrassed by his financial distress and left Evansville. In a few years, he was able to recover and returned to Evansville for a visit
and made good all of the debts that he had incurred from the failure of the grubbing machine.
Otis L. Blackman, patented his rotary attachment for a windmill in October 5, 1880. Several months later, in July 1881, Blackman told the
Evansville Review reporter that he had a model to explain how the attachment worked and was "at work simplifying his attachments and removing
every objectionable feature to its movements. Soon as he can get a working model completed, Mr. Blackman informs us that ample capital stands
ready to engage in manufacturing grinding mills and other appliances for which wind power is capable of doing.
Another Evansville entrepreneur and inventor also worked on rotary attachments for windmills and used county and state fairs to advertise his
products. Allen S. Baker had received 10 patents by 1880 for improvements to windmills and pumps that were manufactured by the Baker
Manufacturing Company. Four of the patents were issued in 1880, one for a feed grinding attachment, another for improvements to hand pumps
for water wells, one for a mechanical movement to improve the rotary power for windmill attachments and another improvement in windmill design.
The feed grinding attachment had already received notice in the Evansville Review. An article about the rotary design appeared in the March 12,
1879 issue: "Mr. Baker at the foundry has succeeded in making an improvement to his recently patented windmill that will transform a crank
motion into circular motion and applies it to a miniature feed mill with good advantage. It was being improved upon Monday or we could have
learned more of it."
The Baker Manufacturing Company’s Wisconsin salesman, Charles Tuttle, took windmills and attachments to the Beloit Fair and the Wisconsin
State Fair. Tuttle and agents in Illinois, Iowa, Minnesota and other western territories were reporting success.
In 1880, the company reported shipments to New Mexico and Nebraska. News that a Baker windmill had withstood 100 mile per hour winds in a
storm at North Platte, Nebraska, improved the company’s chances for sales.
Perhaps inspired by Baker’s success, Otis L. Blackman, invented an improvement in a rotary attachment for a windmill. Blackman claimed that the
“object of my invention is to overcome the ‘dead center’ always found in a crank motion operated by a rod or pitman-shaft.” “The swivels allow the
whole top of the machine, supported by the revolving table to revolve in either direction while the bottom remains stationery
In the 1880s, several Evansville area inventors worked on planting devices to improve working conditions for farmers. Machines that planted
several rows at a time were time and labor saving for farmers who had several acres in production.
The planting machines developed by John P. Van Vleck, of Cooksville, were described in previous articles. One of Van Vleck’s neighbors, Albert
Fessenden, a Porter township farmer, invented a riding corn and pumpkin seed planter. The patent, number 210,815, was granted in December,
1878. Half of the patent was assigned to his brother, Adelbert Fessenden, of Janesville.
The Janesville Gazette described the operation of the machine in its January 7, 1879 edition. “The object of the invention is to accomplish corn
planting by means of horse power that will plant three rows at a time with ease, certainty and facility, preparing the earth for the seed, dropping
and covering it at one passage.”
The machine’s wheels were designed to work on uneven ground. The three wheels had “adjustable bearings, independent of each other carrying
upon the frame one man as a driver and operator.” The front of the machine could be raised and lowered for ease in turning at the end of the
rows.
The driver controlled the dropping of the corn seed from three separate boxes. The pumpkin seed attachment was designed to drop seeds in
alternate hills of the third row. The Gazette reporter gave the machine great praise, “The invention is a very important one and promises to be in
great demand.”
Not quite satisfied with his seed planter, in 1880, Fessenden again applied for a patent, for the new design of the seed boxes. This time he
assigned half of the patent to George Brown, of Galesburg, Illinois.
Evansville house builder, William S. Morgan, also tried his hand at inventions and manufacturing. Morgan’s first patented invention was an
improvement to a grass seed-sowing device. Witnesses to the patent application were Frank Winston, already a successful patent holder, and
Isaac Bennett, an officer of the Bank of Evansville.
Even before he received the patent, Morgan began manufacturing the Peerless Grass Seeder at his carpenter shop. “Mr. Wm. Morgan has struck
a good thing in his invention of a grass-seed sower which can be attached to a common roller. Several of them are in use by neighboring farmers
and are highly spoken of,” the Evansville Review reported in its February 18, 1880 edition.
Morgan received notice that the patent would be issued and his success was reported in the March 3, 1880, “Mr. Morgan informs us that he has
obtained a patent on his seeder. They write him that nothing in any way resembling it, has ever been seen at the Patent Office.”
According to William Morgan’s claims, the machine could sow a path of grass seed ten feet wide. It weighed less than 10 pounds and was adapted
to use as a horse-drawn planter or by using shoulder straps it could easily be carried by a man.
The seed box was placed on the front of a large roller and as the grass seed was distributed, the roller pushed the seed into the soil. It could also
be attached to a wheeled hay rake. While the horse-drawn machine was preferred, there were situations, such as muddy fields, or swampy areas
that were more easily accessed by a man on foot.
Morgan reserved the area around Evansville as his own territory. By 1881, he was advertising for salesmen in Wisconsin and other states. Those
interested in the rights to sell the grass seeder were required to pay Morgan a fee of $10 for township rights or $20 for rights to sell in an entire
county.
Two years later, William Morgan received a patent for a machine that was beneficial to his work as a carpenter. It was a portable bench mortising
machine, small enough to fit in a carpenter’s tool box.
Inventions of several Evansville men were available from local merchants in the early 1880s. Caleb Ancel Libby, an Evansville carpenter and
inventor, entered the newspaper business in 1881 and through the weekly Enterprise, he promoted his own inventions and the work of other
Evansville inventors.
John Van Vleck’s hand seeder for corn and pumpkin seed could be purchased at the hardware store of Clapp and Sausman, on East Main Street.
The hardware store advertised the seeder as the “best hand planter in existence.”
William Morgan’s foot-powered bench mortising machine was patented in October 1882. The mortising machine was used to cut square or
rectangular holes in wood. For stability when the machine was in operation, the mortising machine was bolted to a work bench and the foot pedal
support was bolted to the floor.
Morgan claimed that his machine was made from the best iron and steel and that it never needed repairs. “Warranted superior to any hand or
foot power mortising machine in the market, at less than one-half the cost,” Morgan advertised in Libby’s weekly Enterprise. The foot-powered
machine was easily attached to any work bench. Morgan sold the machine for $12.
The Baker Manufacturing Company also displayed their windmills at the fairs. The firm encouraged their employees to be active in creating
improvements. Two employees and Allen S. Baker, a major stockholder and manager of the firm, submitted patents in the 1880s.
Never satisfied with the windmills as they existed, Allen S. Baker was constantly trying to improve the stability and efficiency of the machines
manufactured and shipped from the factory in Evansville. Baker submitted patents for inventions to improve the windmills manufactured in
Evansville. In 1881, 1882, 1887 and 1888, Baker was granted patents for his ideas.
In December 1881, Myron M. Martin submitted an application for a patent for an improvement to the gears in the wind wheel shaft of the windmill.
He assigned one-half of the patent to the Baker Manufacturing Company. The text of the application was witnessed by John Frantz and Joseph H.
Hoskins. The patent was accepted on July 25, 1882 with number 261,739.
A year later, Joseph Hoskins’ son, Leander Hoskins, also submitted a patent. Leander was a University of Wisconsin student and Evansville
resident. During his school semester and summer breaks, he worked at the Baker Manufacturing Company.
The patent text was witnessed by Allen S. Baker, and Leander’s father. The new invention was for a shifting device in the windmill that shifted the
wind wheel in and out of the wind without interfering with the motions of the turn tables of the windmill.
Leander’s invention did not go unnoticed by the local press. The weekly newspaper, the Enterprise printed an announcement in the December 4,
1883 issue: “The Baker Mfg. co. are getting out another of those 18 ft. wind-mills, for which they have had an order. We believe Mr. Leander
Hoskins is the patentee of this mill.”
Hoskins graduated from the University of Wisconsin with a Master of Science degree in Civil Engineering in June 1885 and a Master’s in Civil in
Engineering in 1887. For two years he was assistant professor of mathematics and professor of mechanics at the University of Wisconsin.
Leander Hoskins joined the faculty of Stanford University as a professor of mathematics, in 1893, two years after the school was organized. Prior
to his retirement in 1925, he was the author of several texts for engineering students and was well known for his contributions to the fields of
hydraulics, geophysics and applied mathematics.
Early in 1884, an inventor who held a patent on a lightweight cardboard box, came to Evansville from Birmingham, Connecticut. Charles M. Arthur
talked with local businessmen about the potential for starting a manufacturing plant to make cardboard boxes.
The box that Arthur and a partner had designed was already in use by the Evansville Manufacturing Company. The Evansville firm packed small
nails and tacks manufactured and shipped from their plant on Enterprise Street.
Arthur decided to move to Evansville and in the spring of 1884, Charles Arthur and his new partner, W. J. Knights purchased a building that had
been used as a feed mill and moved it close to the tack factory and opened a box making factory. Knights advertised that he was closing a
grocery store he owned in Evansville.
Arthur and Knights purchased a printing press to print information and advertisements on the new boxes. The power for the new press came from
the engines operating at the tack factory. Their new venture was called the Evansville Paper Box Company.
By July 1884, the box factory had eight employees, including Arthur and Knights. In September, Knights was nearly killed when a blade used to
cut the cardboard fell on his head. The doctor attending Knights said that if the cut had been a “trifle deeper, it would have caused his death.”
Two weeks later there was an announcement in the Evansville papers dissolving the partnership between the two men. W. J. Knights and Arthur
placed an advertisement in the Evansville Review that their partnership and company was “dissolved by mutual consent.”
After leaving the business W. J. Knights became a traveling salesman. He was later one of the founding members of the Bible group in Janesville,
known as the Gideon Society.
Arthur continued in the box manufacturing business under the name of C. M. Arthur & Company, with Otto Winters as a partner. Arthur submitted
another patent for a paper box design in the fall of 1884.
The February 6, 1885 issue of the Evansville Review announced the success of the new patent. Although the patent listed only Charles M. Arthur
as the designer, Otto Winters, one of the witnesses to the narrative of the patent, was also given credit in the Review for the box. “Messrs. Arthur
& Winters have recently invented a new tack box, that promises to be an improvement on anything in that line heretofore put upon the market.”
Arthur’s firm had a ready-made opportunity for sales as the tack and match factory, Evansville Manufacturing Company, was operating at full
capacity. The Review reported in its July 10 1885 issue, “Fifteen machines in constant operation will cut a good many tacks in a day, a month, a
year.”
By 1889, permanent settlers had occupied the Evansville area for 50 years. An article in the Inventive Age outlined America’s progress from 1839
to 1889. “Fifty years ago most of the people of the United States were clothed from the products of the domestic spinning wheel and hand loom.
The itinerant shoemaker went from house to house, setting up his bench and plying his vocation in the farmers’ kitchens. There were no planning
mills, no shops for the manufacture of doors, sashes, or blinds. All the work of the building, including carpenters’ and tinners’ work was done by
hand. The carpenter, if a good one, got a dollar a day. Coal was consumed but by few families, even in the large cites, and by nobody in the
smaller towns of the country. The tailors, like the shoemakers, came to the house and made into clothing the cloth woven by the mother and
daughters, with a little help from the fulling-mill that was generally near the grist mill of the neighborhood. The railroad and telegraph had not yet
added their powers to the forces of civilization.”
Evansville area residents had contributed no less than 35 inventions to the nation’s progress. The 1890s was another prolific decade for
Evansville area inventors. Improvements to the windmills, windmill towers, pumping equipment, steam cookers, buck saws, dinner pails, wire fence
construction, gates and animal catchers were submitted by hopeful men and the area’s first woman inventor.
Baker Manufacturing’s employees once again led the way in the number of patents granted to Evansville residents and the improvements to the
company’s products were bringing in new customers. The company reported exceptional sales.
The October 1, 1889 issue of the Evansville Review said “The Baker Mfg. Co. will have to stop receiving orders or arrange to run on double time.
Orders are coming in faster than daylight can work them off. Their business is better at this season of the year, than they have anytime before.
Allen Baker’s son John had worked at Baker Manufacturing Co. each summer from the time he was 12 years old. In school, John had been an
excellent student and he had shown proficiency in science and mathematics. Teachers and others described John as an original, independent
and logical thinker.
John graduated from the Evansville High School in the spring of 1887 and entered the University of Wisconsin to study mechanical engineering in
the fall. Two years later, his education was interrupted by a recurring eye problem.
Specialists at a Milwaukee hospital performed surgery on his eye in 1889. John developed an infection that kept him in the hospital for several
weeks. He went home to Evansville and decided he could no longer continue his studies.
His father offered John a job at Baker's, as a lineman for the electrical plant. He accepted the offer and remained with the company for the rest of
his career.
John's skills quickly became evident and he was made manager of the drafting and design department of the company. Like his father, John was
also an inventor and the two would collaborate on designing and testing products over the years that they worked together at the plant.
As a designer and inventor, John received his first patent within a few months after he became a Baker Manufacturing Company employee. From
1889, until his death in 1936, John designed and received patents for improvements to windmills, water pumps, gasoline engines, tractors and
automobile parts. All of the patents were given to the Baker Manufacturing Company.
Allen Baker assisted another Evansville resident in obtaining a patent in 1890. John H. Benney applied for a patent on a dinner pail and Allen S.
Baker and J. H. Hoskins witnessed the patent application.
Benney’s new dinner pail was made of sheet metal and divided into several metal compartments, one stacked on top of the other. One of the
lower trays was to be used for meats or vegetables that could be heated. The upper tray was for pie, cake, or bread that was intended to be
eaten cold. A cup for the beverage sat upside down on the top of the pail.
A compartment at the bottom held a combustible fluid and the chamber just above it held the beverage. When the fluid was lit, it heated the
beverage in the compartment above. Benney said he preferred to use alcohol as a fuel since it would not produce soot.
Benney applied for the patent in September 1890 and the Patent Number 453,957 was granted in June 1891.
]


The invention was ready for inspection by Evansville residents,
several months before Beebe applied for a patent. In the
October 3, 1877 issue of the Review, the reporter wrote: “Dr.
Beebe has recently in invented an automatic farm gate that
promises to eclipse anything of the kind yet constructed. It is
simple, easily operated, strong and durable. There is a genius
manifested in the Doctor, not disseminated by infinitesimal pills.”
Dr. Beebe’s idea was an improvement to the hand levers of the
gate, and it could be easily opened, “by persons riding, driving, or
on foot without turning from the center of the roadway,”
according to the patent text. Beebe received his second patent in
April 1878 and hired S. J. Smith to serve as his agent for the new
gate. Smith and Beebe visited the Evansville Review office in July
1879 to promote the gate.
Beebe’s became widely known throughout the state for his skillful
eye surgery and in 1880 moved to Milwaukee and opened an
office. For the remainder of his life, Beebe remained both a
physician and an inventor. After his move to Milwaukee, Beebe
continued to submit and receive patents, including some related
to mechanisms for use by eye doctors.
A few months after Beebe submitted his first patent application,
two Evansville men submitted a patent for an improvement in
rotary steam engines. Levi Shaw and Allen S. Baker submitted
their patent application in April 8, 1873.

In October 1874, Levi M. Shaw sold his share in the Baker
Manufacturing property to his other partners for $700. Shaw moved to
Preston, Minnesota and became the company’s first official traveling
salesman. He began selling the Monitor windmills, iron pumps and
cheese factory equipment advertised in their catalogs. By May 1875, the
company had received so many orders for windmills and pumps that it
was "beyond their present ability to dispatch them".
The second patent issued to Baker was for an improved windmill. Allen
S. Baker and Caleb Snashall, now partners with four other men in the
Baker firm, invented an improvement to the windmill. According to the
patent, the new mechanism was “a simple and effective means for
initiating the lateral movement of the wheel when the wind becomes too
heavy for it.” Patent number 150,275 was issued in 1874. It was the first
of many patents that Allen S. Baker, his descendents and employees of
the Baker Manufacturing Company received for new designs for
windmills.

Then Baker began submitting patent applications
for improvements to hand operated water pumps.
The first was a patent was submitted in June 1876
and approved in December of the same year.
This was followed in 1878 by a third patent, an
improvement to the cylinders in the iron pumps, so
that the pump operated more efficiently in wells
“troubled with loose sand, as is frequently the case
in drilled wells.”
WHITNEY'S SULKY PLOW
His mop wringer was a back and hand-saving
device made of heavy wire in a conical-shape.
The downward spiraling wire was attached to a
metal frame screwed onto a wooden or metal
bucket.
When the mop was inserted into the mop wringer,
the janitor or housewife held on to the handle,
dropped the mop into the mop wringer and twisted
the handle to wring water from the mop. “The
object of my invention is to furnish a device by
which one end of a mop can be held by it securely,
thus enabling the operator to wring the water out of
it without wetting the hands or stooping to perform
the operation.”
Winston’s funnel had a
stopper with a rod extending
above the top of the funnel.
Marks on the inside of the
funnel indicated the quantity of
the liquid in the funnel. The
operator could pull the stopper
to release the liquid and then
stop the flow of liquid when
the desired amount was
released
Morgan's Grass Seed Planter
“Any one buying territory at the above prices to
make one hundred times the cost of it, if properly
worked,” Morgan promised in his advertisements.
He also offered special prices and incentives to
wholesale implement dealers and listed several
references, including the Bank of Evansville.
The Pudding Stick, July 1881, advertisement for
agents to sell Morgan's grass seed planter.
The Pudding Stick was a monthly publication that
preceded Caleb Ancel Libby's Enterprise &
Tribune newspapers.
Caleb A. Libby promoted his the mop wringer and
adjustable spring bed in the Enterprise, a weekly
newspaper. The bed was available from George Collier,
an Evansville resident who was persuaded to act as
agent.
In 1883, Morgan entered his machine into competition at San
Francisco. He received national attention when the mortising
machine took a silver medal at the Mechanic’s Institute Fair in
San Francisco. The fair opened in August and ran for 41
days. It usually attracted more than 600,000 people.
Advertisements for the machine appeared in the Evansville
Review. Morgan also entered his mortising machine in the
Wisconsin State Fair.
Leander Hoskins was responsible for the patent
of a mechanical improvement for the Baker
Manufacturing Co.’s 18-foot windmill. The patent
was applied for in August 1883 and granted in
March 1884.
Arthur’s new paper box patent was granted in
1885. Arthur’s small collapsible box, also
known as a telescoping box, was designed to
hold tacks or matches, and other products
that would fit in a small container. The patent
included three pages of drawings of the
finished product and instructions for cutting,
folding, and gluing the box.
John Baker and his father collaborated on
the first patent application that John
submitted in 1891. Fred Barnum and J. H.
Hoskins witnessed the detailed three-page
narrative of the patent. Two pages of
drawings of the mechanism accompanied the
patent for an improvement to the gears that
helped balance and swivel the windmill. The
application was submitted in 1891, but the
patent, number 494,238, was not granted
until 1893.



The company began manufacturing a new steel
windmill in 1892, known as the Steel Monitor. Allen
Baker submitted a patent application for a steel tower
in 1893. Baker said his tower would be light in weight,
strong, and have little wind surface. He claimed that it
would also be built quickly and with little effort.
According to the patent description, the tower could
be constructed with three or more legs, depending on
the amount of support needed. Baker submitted
drawing showing a tower with four legs. The base of
the tower was anchored to the ground.
Angle iron was used for the frame of the tower and the
frame was supported by tie rods, struts and guy wire so
that it would be strong enough to support a windmill in
a strong wind. The design was versatile and could be
easily adapted to various weight and wind conditions.
The tower patent was received in November 1893.
Bakers had both their wood and steel towers on
display at the Chicago World’s Fair, the Columbian
Exposition, in the summer of 1893.
Though John and Allen Baker spent many hours
designing and testing the new windmill and steel cable
tower, the design of the tower was unstable and was
discontinued within a few years. The steel towers, also
known as cable towers, could not stand against high
winds.

A new invention by Frank Bemis, a former Evansville
resident, was also producing strong sales. Bemis
invented improvements to a tobacco setting machine.
Before the patent was issued, the tobacco setters were
manufactured by Fuller and Johnson in Madison and
sold in the Evansville area.
Two horses were used to pull the machine that had a
small plow that created a furrow. On the frame of the
machine, behind the plow was a tank of water with an
opening at the base that watered the ground.
At the back of the machine were two seats for the
people, usually young boys, who set the plants in the
pre-moistened furrows. “It is a machine that does away
with much of the bone, back-aching work of tobacco
growers—setting the plants properly in the spring.”
Albert Fessenden displayed and demonstrated Bemis’
tobacco setting machine on the Central House lawn on
the corner of Main and Madison Street in the spring of
1889 “We prophesy for Mr. Bemis a snug little
fortune,” Caleb Libby predicted in his Enterprise
newspaper. Several machines were sold in the
Evansville area and Bemis and Fessenden claimed
many satisfied customers.
The following year, Bemis began his promoting his
machine early in the year. In January, he was on the
road trying to sell his planter in Pennsylvania and
Virginia, two states that were heavy producers of
tobacco.
Patent number 423,723 was issued to Frank Bemis on
March 18, 1890. Bemis claimed that his new machine
could be used for tobacco, cabbage, sweet potatoes
and similar plants.

Dr. William P. Roberts, a homeopathic physician living in
Evansville, worked on an animal catcher. Roberts was well known
for his unusual treatments. When he first arrived in Evansville in
1884, he began using a vacuum process to eliminate disease in
his patients.
While maintaining his medical practice, in his spare time Roberts
became an inventor. Roberts began to design his animal catcher
in 1889, but did not apply for a patent until two years later. Then
he waited another two years for the patent to be approved.
Roberts showed the invention at the exhibits of agricultural
implements at the Rock County Fair in September 1889. The
invention was given approval by the fair visitors. “All who have
seen it pronounce it to be the best they have ever seen. It is an
apparatus for staking out horses and other animals to graze,
without the possible chance of being injured,” the Evansville
Review reported in it September 17, 1889 issue.
In the patent application, Roberts said, “My invention relates to an
improved device for catching and leading animals such as sheep,
swine, calves, etc.” The device hooked around the leg and the
animal’s movement could be controlled by the person holding the
device. The patent was finally received in 1893.

In the 1890s, Evansville could lay claim to a large number of imaginative people. Several tried their hand at improving products that would
make others more productive. Electric belts, card holders, bucksaws, box fasteners, casket carriers and windmills received the attention of
Evansville inventors in the 1890s.
Some inventors started making applications for patents, after many years in fields far removed from their inventions. Major E. Hanover had
been in business in Evansville as a painter and wallpaper hanger since the late 1860s.
Hanover was also a talented musician. He played violin for dances and taught violin lessons.
He arrived in Evansville in 1868 and went into business painting sulky corn plows made by Lorezo and Cyrus Preston and their partner,
David Bailey. The firm of Hanover, Preston brothers and Bailey dissolved in a few months. For the rest of his life, Hanover found enough
work painting to support his family of ten children .
Hanover advertised that he would paint houses, carriages and signs. “Paper hanging, wall decorating, graining, &c on short notice and
guarantee satisfaction,” he advertised in local newspapers.
Hanover was 61 years old when he received his first patent in January 1890. Bank of Evansville cashier George L. Pullen and Lorenzo
Worthing witnessed the patent application for a fastening device for packages.
“My invention relates to packages; and it consists in a novel and useful package having folding lipped ends, combined with a device for
readily securing the said lips together,” Hanover stated in the application description.
In the 1890s, inventing was a family pastime for some Evansville area residents. Fathers, sons and brothers shared patents in the 1890s.
Allen S. Baker and his son, John, worked on new designs for windmills and steel supports for the windmills.
The Bemis brothers, Daniel and Fred followed in the footsteps of their sibling Frank and submitted patents for farm machinery. The
brothers had grown up on a farm owned by their father, Jervis Bemis.
Pioneer settlers of Rock County, the Bemis family had arrived in Plymouth township in 1845, before there were roads or school houses.
Jervis Bemis helped organize the Rock County Agricultural Society and the Center Grange. Both organizations encouraged inventions and
improvements in agricultural pursuits.
Daniel and Fred Bemis’ brother Frank had successfully improved and marketed a tobacco planter in 1890. The brothers were no doubt
encouraged by Frank’s success and Daniel and Fred decided to improve on Frank’s design and create new features that could ease the
hard labor of planting fields with tobacco and similar plants.
Although the brothers were separated by a great distance, they worked on the project and submitted the patent in 1892. Daniel had
moved to Eastonville, El Paso County, Colorado, and Fred was living in Footville when their patent for improvements to the tobacco
transplanter was submitted.
The horse-drawn machine was designed to help farm workers transplant cabbage, tomatoes, and other plants. The transplanter included a
water tank, a plow the Bemis brothers called a furrow opener, a hopper for fertilizer, a scraper, and one or more seats at the rear end of
the machine for the farm laborers depositing the plants into the ground.
At the front of the machine was the plow that created a furrow. Then the water was dispersed into the furrow through a tube extended from
the water tank. The operator could adjust the flow of the water.
The people sitting on the seats at the back end of planter used a hand guide to drop the plants into the ground at the required depth and
spacing. Then a scraper automatically covered the roots of the plants to complete the planting process.
The Bemis brothers also claimed that the plow, scraper, and other parts at the bottom of the machine could be raised and lowered and the
transplanter could be easily moved from one field or farm to another. Their patent, # 520,477 was granted in May 29, 1894.
Fred’s application was submitted on the 16th of October 1893 and granted on May 29, 1894, the same day that the patent was granted for
his invention with his brother, Daniel. The patent number of 520,478 was assigned to Fred’s transplanter design.
Another family had some ideas to present to the United States Patent Office in the 1890s. Two Evansville brothers, Frank A. and Fred L.
Franklin submitted improvements for windmills in the mid-1890s. They were the sons of Samuel and Sarah Ingraham Franklin and had
grown up on a farm in Union township.
Frank was an employee at the Baker Manufacturing Company and Fred worked in the grocery department of the Grange Store. Both
young men were ambitious and hard working.

In February 1896, Major E. Hanover submitted an
application for a patent on an improved bucksaw frame.
Hanover had figured out a way to expand the frame to
increase the tension of the saw blade. The frame of the
saw could be taken apart and put in a tool box so that it
was easy to carry from one construction site to the next.
Hanover’s application was submitted by patent attorneys
C. A. Snow & Co. The Snow company had offices in
Washington D. C. and advertised in the Evansville
newspapers edited by Caleb A. Libby, a successful
inventor. Nearly every week the Snow firm sent lists of
patents they had submitted on behalf of Wisconsin
inventors, only naming those that had been approved at
the U. S. Patent office.
Major Hanover did not meet with great financial success
with his invention. He turned to an entirely different
invention for his second application.
Another long-time Evansville resident began submitting
patents rather late in life. James R. West, the son of
Jacob and Margaret West, was five years old when his
parents came to Evansville in 1842.
As a young man, James West apprenticed as a carpenter
and worked as a sash, door and blind maker. In the 1850s
James designed the first of the Evansville Seminary
buildings. His father, Jacob West, manufactured the red
brick for the first building and James did the carpenter
work.
West enlisted in the Civil War in December 1863 with the
Wisconsin 16th Infantry. He was wounded at Bald Hill,
near Atlanta and returned to Evansville on July 4, 1865.
James R. West was appointed Evansville’s postmaster and
served in that capacity from 1865 to 1886.
As postmaster, he also operated a book and stationery
business in the same building as the post office at 11 East
Main Street. James R. West’s invention was a card holder
patented in 1890 that he believed would improve service in
post offices and hotels.
In the patent application, West described the card holder
as “a very handy and effective device for use in hotels,
post and express offices.” In hotels, the card holder could
be used to display the names and room numbers of guests
in a hotel. In the post office, the device could hold letters
in alphabetical order or notices of packages that were
ready for delivery.
West claimed that his invention was easy and economical
to manufacture. His patent was submitted in June 1890
and signed by his brother, Joseph H. West and another
Civil War veteran and Evansville merchant, Daniel B.
Lovejoy. The patent was granted in March 1891.


Another Evansville inventor, Barney Hoskin Standish, claimed to be a
descendent of Captain Miles Standish. Barney attended the Evansville
Seminary and the University of Wisconsin, where according to his obituary,
he “developed a taste for literature and early distinguished himself in prose
and poetry.” He was often asked to present papers at the Evansville literary
societies.
Barney Standish was also a noted naturalist. He was especially interested
in the preservation of forests and native birds. Standish wrote articles about
animals and animal tracks that appeared in the St. Nicholas magazine for
children and the book, Common Things with Common Eyes, published in
1897 by Standish and Standish.
A poet, naturalist and inventor, Barney Standish operated the Davy Electric
Belt company in Evansville in 1893. Electric belts were wide fabric belts with
pockets for batteries that carried electric current to various parts of the
body.
The electric belts were sold as therapeutic devices. Claims were made by
some doctors that the electric belt offered great benefit to “suffering
humanity.” Advertisements said that the belts were a cure for many
ailments, including sciatica, asthma, headaches, heart troubles, throat
troubles, spinal disease, constipation, kidney complaints, pains in the back
and limbs, and sleeplessness.
Standish wrote in the patent description that his unique electric belt could be
used in trusses and “suspensory sacks.” The configuration of Standish’s
batteries, wires, and zinc plates was what he claimed made the invention
eligible for a patent, and the patent office agreed. Standish’s patent #
501,849 was approved on July 18, 1893.
The University of Wisconsin ordered a special version of Standish’s belt.
Instead of the usual six to 16 pockets for battery cells, the University wanted
220 cells in the belt. When it was extended to its full length, the belt formed
a continuous battery more than 18 foot long. A special wood box was made
for the belt. “This doubtless, is the highest scientific endorsement ever
given to any electric belt,” The Evansville Review reporter said in
announcing the University’s order in 1893.


A second patent, for an improvement to a transplanting machine
was granted to Fred H. Bemis, alone. Fred’s improvements
included adjustments to the seats for the people riding on the
machine and planting the tobacco. The seat adjustments made
it easy to plant on hills. It was also easier to maneuver the
transplanter even when the planters had “unequal weights.” “If
for instance, one of them was a man and the other a boy, the
man’s seat-bar would be raised and the boy’s lowered, so that
the spring would equalize their weight,” Fred’s description of the
new device stated.
Fred started work in the Grange store in 1889 when the store
was located at 19 East Main. He clerked in the grocery
department and delivered merchandise to customers by a hand-
pulled cart. Six years later he was made the head of the egg
and dairy department of the store.
It was Fred’s job to grade the butter and eggs that were brought
in by the farmers and their wives. Fred once told a reporter that
it was more difficult to grade butter than eggs, as the butter was
all home-made and it was “hard to tell a woman that her butter
was not good.” Fred worked for the Grange for more than 50
years and claimed that during that time, the store had paid out
over a million dollars in egg money.
Frank was a painter for the Baker’s and had some ideas of his
own about how a windmill should be designed. Frank Franklin
submitted an application for a patent on a steel windmill in April
1893 and the patent was granted in 1894.
The second application submitted by Frank also included input
from his brother, Fred. The invention submitted for a patent by
the two brothers was for a design of the fans in the wheel of the
windmill. The fans were made of sheet steel attached with rivets
to a frame.
Bert Biglow and A. R. Neal witnessed the patent submitted by
the Franklin brothers in November 1893. Nearly a year later, in
October 1894, the patent number 527,276 was granted.
Several years later, Frank and Fred’s younger brother, Leon Franklin, also turned to inventing. Leon’s usual
occupation was a carpenter. However, in 1922, Leon submitted an idea for a sliding door for a railroad freight car.
The door could be opened and closed by a lever that was easy to use, according to Leon’s patent application.
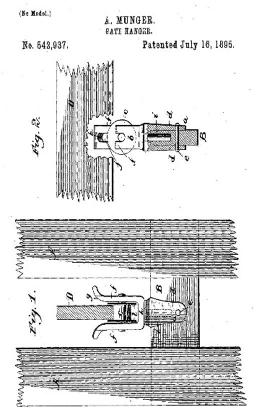
An Evansville farmer, Andrew Munger had an idea
for a gate hanger and submitted his patent in July
1894. Munger described his invention as being
particularly useful in farm gates made with
horizontal wooden slats. Evansville bankers,
George L. Pullen and Robert D. Hartley witnessed
the patent application. The patent was granted on
July 16, 1895.

Another Evansville inventor was local furniture
store owner and funeral director William H.
Antes. William H. Antes had been a traveling
furniture salesman. In 1884, he opened a
furniture store in Evansville with his brother,
Joseph, as partner.
By 1887, Joseph Antes had left the furniture
business. William and his new partner, Solon
Smith offered undertaking services, complete
with a free hearse and embalming services. In
1891, Antes bought out Smith and took a course
in undertaking in Chicago.
In 1895, William H. Antes submitted a patent for
a detachable casket carrier. Antes had
encountered many obstacles in getting caskets
in and out of buildings.
Funerals were usually held in the home of the
deceased or in churches. Antes described
several problems with moving caskets.
“In carrying a burial casket where no means are
provided other than the usual side handles great
difficulty is experienced in passing through
doorways, narrow passage-ways and in going
downstairs. In such cases it is necessary for the
pall-bearers to relinquish their hold on the side
handles and for one or more of them to grasp
the ends of the casket and to assume the entire
weight,” Antes said in the description of his
patent application.
The invention of the detachable casket carrier eliminated the problems, according to Antes. The new device had bars that fit under the casket
and handles for the pall bearers to use in the front and back of the casket, rather than the usual side handles.
Wherever there were narrow doors or halls, or steps, the detachable casket carrier could be placed on the casket and the pall bearers could
use the front and back handles, rather than those on the sides of the casket. Antes received his patent number 576,358, in February 1897.
Within a few years, William H. Antes moved to Des Moines, Iowa and became the president of the Des Moines Casket Company. After he left
Evansville, Antes was responsible for at least one more patent.
In 1909, he and William A. Roe, also associated with the Des Moines Casket Company, submitted a patent for an adjustable casket clamp with
rollers to use in hearses. The patent number 931,490 was granted on August 17, 1909.
John H. Benny, who had previously
submitted a design for a heated lunch
pail, invented a tank heater, and
submitted an application for a patent in
March 1899. In the application, Benny
admitted that the idea of a tank heater
was not new. “Tank heaters have
been used in the northwestern
sections of this country as a means for
preventing water from freezing in tanks
either for household purposes or for
the watering of stock,” Benny said.
The tank heaters currently in use were
expensive to manufacture and wasted
fuel, according to Benny. His device
could be manufactured cheaply and
used less fuel that the existing
models. The patent office agreed and
patent number 635,224 was approved
on October 17, 1899.

Several new inventors appeared on the scene in the early part of the 20th century. The Baker Manufacturing Company personnel continued to
add their successful patents to the growing list of innovations recorded by the United States Patent Office in Washington D. C. They also
assisted others in the manufacture of inventions by Evansville area residents.
On February 10, 1902, Augustus E. Durner, an Evansville horse-shoer and blacksmith, submitted a patent for a harrow-disk sharpener. One
of the problems with disk sharpeners was that the machines had to be taken apart in order to sharpen the disks dulled by use in the fields.
Durner claimed that his invention was easy for farmers to use, if they wanted to sharpen their own disks, rather than bring them to his blacksmith
shop. Durner’s machine also saved the farmer from taking the machine apart. The new harrow-disk sharpener, sharpened the disks without
having to remove them from the machine. The application for patent number 708,802 was approved the following September.
With customers already demanding his new disc sharpener, Durner decided to proceed with manufacturing and selling his new machine. Durner
chose the Baker Manufacturing Company to mold the iron parts and then assembled the machine at his shop on Maple Street.
Then on September 6, 1904, the U. S. Patent office received another application for a patent on a disc sharpener submitted by Augustus E.
Durner. Durner’s application no. 797,565 began with a format that was common to the patent applications, “To all whom it may concern: Be it
known that I, Augustus E. Durner, a citizen of the United States, and a resident of Evansville, in the county of Rock and State of Wisconsin, have
invented certain new and useful improvements in harrow-disk sharpeners.” Then he added that the patent was an improved type “of the one
set forth in my Patent No. 708,802, of September 9, 1902.”
Before the second patent was submitted, Durner was already receiving some attention from the local newspapers about his disc sharpener.
“Mr. A. E. Durner has invented and patented a disc sharpener that is sold to blacksmiths and farmers who do their own work in that line,” the
Badger newspaper reported in the July 16, 1904 issue. The disc sharpener “is meeting with quite a demand even now. The development of the
plant into something pretty substantial seems very probable,” the Badger reporter added.
Durner’s shop was on the west side of the first block of Maple Street next door to the Morgan Wagon Shop. While waiting for the disc patent,
Durner collaborated with his neighbor, J. W. Morgan, to manufacture a “handsome” lion cage for George W. Hall’s circus. The cage cost Hall
$700, according to the Enterprise.
The patent was approved on August 22, 1905 and another local newspaper reported Durner’s success. The February 16, 1905 issued of the
Tribune reported, “Mr. A. E. Durner is having remarkable success with his patent disc sharpener, receiving orders from all over the land from
jobbers and dealers until he is hardy able to supply the demand. No doubt Mr. Durner’s disc sharpener is far superior to anything of the kind in
the market and is certainly deemed to add greatly to the manufacturing interest of this city and should be helped and encouraged in every
possible manner. It will pay all dealers in machinery to call and see and investigate this piece of machinery at Mr. Durner’s shop when in
Evansville or write to him for particulars.”
Durner continued to operate his blacksmith business and in 1910 became a successful automobile dealer. Durner’s success was due to his
ability to diversify his business and he excelled in customer service. According to the Evansville Review’s obituary of Durner in May 1924, “Gust”
Durner was a man who followed “the Golden Rule in both business relations and social fellowship. He established a standard of citizenship that
all who knew him honored and strove to emulate.”
While Durner was working on his machines, another Evansville inventor was working on a problem with the existing tobacco cases. Emmet T.
Reilly, a seasonal worker in the Evansville tobacco warehouses, introduced his tobacco case fastener to the public in 1903.
Improvements to pumps, pump stands, gates, hog crates, churns also called butter workers, washing machines, and portable saw mills were the
inventions attributed to Eugene Butts, a Union township farmers. Butts started inventing at the age of eleven.
Although he did not patent all of his ideas, by the time that he quit farming and moved to Evansville in 1916, Eugene Butts had 18 inventions to
his credit. The first known patent issued to Eugene Butts was for an improvement to a pump for a well with a windmill.
“My invention relates to improvements in pumps,” Butts stated at the beginning of his application for a patent. His invention was a “means for
connecting the pump or pump-casing with the barrel or tube section which enters the well in such manner as to avoid any danger of the parts
coming loosened, by providing a rigid connection between the members, so that, in working, the pump by its vibrations will not affect the
connection.”
According to Butts’ application the new device had a “novel detachable connection between the pump-casing and he claimed that, in freezing
weather, the water in the well tube would not freeze. Parts of the pump were packed with felt paper and other parts had air-spaces that provided
insulation of the equipment. “The device is inexpensive, strong, durable and easy of application,” Butts stated.
Marshall J. Fisher, a real estate agent and insurance salesman, witnessed the application for the patent. Caleb Anson Libby, inventor and
newspaper editor, was the second witness to Eugene Butts’ application. Patent number 795-338 was granted on July 25, 1905.
A month later, Butts received a second patent. This was for an improvement to a farm gate. Inventors of new devices for farm gates, were most
interested in making the gates easy to open and close. Butts added that his gate could be adjusted to any desired height so that it would clear
the ground or to allow small stock or poultry to pass under the gate.
Details of the gate were provided in three drawings that Butts submitted. The illustrations showed the gate at various elevations and in an open
or closed position. Patent 798,128 was granted to Eugene Butts on August 29, 1905.
In 1917, Butts was granted a patent for a crate used to hold hogs while rings were put in their nose to prevent them rutting. The crate could also
be used when pigs were being castrated or vaccinated.
Before submitting the grant, Butts received testimonials from two Evansville area farmers, George Keylock and Levi Sperry. Keylock and Sperry
used models of the crate built by Butts and were very satisfied with the equipment. George Keylock also served as a witness to the narrative of
the patent application.
“Both of these gentlemen pronounced the invention a success in every particular, saying it excelled anything in its line they had ever seen,” the
Evansville Review stated in the April 6, 1916 issue.
The floor of the crate could be raised and lowered by a rope. One end of the rope was attached to the floor of the crate and the other end was
attached to a drum on the top of the cage. A crank on the drum was turned to wind the rope and raise one end of the floor of the crate. There
were guard strips on the floor to keep the animal from slipping between the slats on the side of the crate.
There were two vertically sliding doors at each end of the crate. One door had a large opening in the center to allow for the nose or posterior of
the animal to be held in place for the procedure.
Butts’ application described how the crate worked: “One of the doors is raised and the animal driven into the crate and upon the platform, the
door then being closed to trap the animal. The crank is turned winding upon the drum the rope or chain and lifting the platform to an inclined
position, forcing the nose (or posterior of the animal) through the opening of the door. The animal is firmly secured in this position and the
operation of ringing or castrating can be performed quickly and efficiently.”



From January through May the warehouses near
the Evansville depot were bustling with activity.
The workers sorted and graded tobacco, packed
it into cases and shipped it to manufacturers of
cigars, cigarettes and chewing tobacco. In the
summer months Reilly laid cement sidewalks.
Reilly realized that the wooden cases were
frequently opened for inspections as the tobacco
was moved from place to place. While working in
the tobacco warehouses, Reilly had an idea for a
new fastener for the tobacco packing cases.
Reilly said that leaf tobacco cases needed to be
strong, yet easily opened.
“The rough handling to which it is subjected
necessitates not only a strong box, but in addition
a secure fastening means for the top or closure,”
the application for Reilly’s fastener stated. The
application for a patent was filed in January
1903. G. C. Roberts, an Evansville implement
dealer and Paul G. Paulson witnessed the
application.
The Lakeside Malleable Iron Works in Racine
manufactured the fasteners for Reilly. “He is
having large quantities of these goods made.”
The Evansville Review reported after Reilly had
made a trip to Racine in March 1903, to examine
the new fastener. The patent for the box-
fastener was granted in January 1904.
There was no report of the amount of sales for
Reilly’s fastener. Reilly continued to operate his
cement business. A report of four cement
contractors working in Evansville in 1909 said
that he was responsible for 15,215 square feet of
sidewalk and 1,126 square feet of curbing put
down in Evansville that year. That winter he
spent in Phoenix, Arizona. Reilly took his cement
tools along, hoping he could find work.


Evansville Review, Evansville, Wisconsin
The popular photographer Elmer E. Combs came to Evansville in 1889 and took thousands of photographs during his 47 years in the
business. From 1889 to 1936 when he closed his studio, Combs took more than 86,000 photographs and finished more than a million
pictures for his customers.
An experimental photographer, Combs tried x-ray photography as well as trick photography. In 1907 and again in 1911, Combs turned
his inventive mind to improving a farm implement.
The first patent, he submitted with his father, William Combs. The two men worked on improvements to the harrow disk sharpener.
They were competing with local blacksmith, Augustus Durner, who was working on a similar machine.
Durner submitted two applications for improvements to the disk sharpener, and Combs did likewise. In 1911, Combs submitted another
patent application for a harrow-disk sharpener. Both applications were approved. Combs also received a Canadian patent in 1912.
One text for high school agriculture students, Agricultural Engineering, by Jay Brownlee Davidson, published in 1913 described the disk
harrow as one of the most useful implements on a farm.
Davidson described three types of disks in use at the time, one was circular, with a smooth cutting edge. Another had a cut-out disk
with sharp-pointed notches and a third type, a spading disk, had sharp blades that were curved at the end “and made up into a
sprocket wheel.”
Both Durner and Combs invented improvements to the sharpeners for the smooth-edged disk. Combs’ advertised that his invention
also sharpened the cut-out disk.
The disks were usually sixteen inches in diameter. The disks were set in two rigid frames and each frame had six to eight disks, spaced
six inches apart. Some manufacturers included an iron seat at the back of the machine for the operator.
In his text, Davidson described the purpose of the 16-inch disks: “Smaller disk blades do not give sufficient clearance and larger sizes
do not do as effective work. The sixteen inch disk rotates faster than a larger disk and so pulverizes the ground more and it also has
less bearing surface under the working edge, insuring greater penetration.”
The disk harrows were used for a variety of field work in the spring and fall. The farmer disked the ground in the spring to prepare the
ground for seed in the spring and in the fall disked again to remove weeds and corn stalks.
The disk harrow was also used to cut through sod to prepare a field for planting or to renew an alfalfa field. According to Davidson, the
machine split the crowns of the plants, so that the alfalfa plant would increase its yield.
Davidson’s Agricultural Engineering text described the importance of the disk harrow to the farmer: “There is no other tool that will do
the work of the disk harrow. The disk harrow can be made to do the work of the corn stalk cutter and at the same time cultivate the
ground in the early spring, preparing it for plowing. As a rule two diskings will not cut corn stalks as well as going over the field once
with a stalk cutter, but nevertheless a good job is done. This system of disposing of the stalks and cultivating the soil before plowing
cannot be too highly commended. Many weeds are destroyed and a better seed bed is obtained upon plowing.”
The disks on the machine needed to be sharpened frequently. Rocks, sod, corn stalks, weeds, and the soil itself dulled the cutting
edge of the disks and made them ineffective in turning the soil.
On his second application for a patent submitted on February 20, 1911, Everett Combs described his improvements. “It will be seen
from the description that I have provided a harrow disk lathe or sharpening machine which operates upon the disks without removing
the same from their shafts, which is adaptable for gang disks having various lengths of shafts and which carries a windlass for elevating
heavy disks or gangs and supporting the same while they are secured in the machine.”
Combs also stated that the machine was easily manufactured using standard machine parts and when repairs were needed the various
parts could be easily replaced. “My construction enables me to sharpen the disks while still attached to the harrow.” The U. S. Patent
office granted Combs patent number 1,003,340 on September 12, 1911.
Combs manufactured his sharpener under the name of Perfection Disc Sharpener. His years of experience in the photography
business made Everett Combs an expert in advertising.
To promote his Perfection Disc Sharpener, Combs created a brochure with photographs of the machine, including one taken in front of
the Reckord blacksmith shop, where the machines were manufactured. Two men used the hand powered sharpener on a disk harrow,
as several others observed the operation. A team of horses stood ready to take the machine back into the field.
According to Combs, the sharpener was easy to use and made of the best iron, with knifes made of steel. “Raise the section only eight
inches, slip the Perfection into place and sharpen. The Perfection fitted with pulley for power is a one man machine. Someone to hold
the shears, that’s all.
One panel of the double sided, three-panel brochure promoted the superiority qualities of the sharpener. “A time saver and so a
money saver. It is all iron, back geared and easy to run. Simple in construction, anyone can operate it. It is a positive feed,
automatically adjusts itself to wobbling or bent discs. It is the only machine that will sharpen the cut-a-way disc, that will sharpen round
discs while attached to the harrow, and does not require you to loosen a nut or bolt on the harrow.”
Combs also praised the economy and durability of his machine. “The least money, the best service. Will last a lifetime. For hand or
power.”
Another Evansville inventor, Jason Fred Graham, invented improvements to an automobile hoist. Jason was born in 1896 and was
twenty years old when he submitted his patent.
Fred submitted his application for a patent on February 8, 1915 and received the patent on January 25, 1916.
The Evansville Review described the machine in its May 25, 1916 issue, “It is an all-steel structure which slides under the whole car,
and by the use of two cranks, the auto is lifted off the ground, thus rendering a pit useless. It is an automobile hoist jack and turntable
combined and apparently is a very useful invention.”
Fred had a model of his hoist made by the Gooddell Model Works, in Marsailles, Illinois. The May 25, 1916 issue of the Evansville
Review said that Graham hoped to have it on the market soon.
Unfortunately World War I intervened before Graham could turn his invention into a business. On June 15, 1917, Fred Graham,
together with more than 160 Evansville men, registered for the World War I draft.
Graham was assigned to the 331st Machine Gun Battalion. He became ill during his tour of duty and was given an early release from
the Army.
In January 1919, Graham went to the Mayo Clinic in Minnesota for treatment, but it was not successful. Benefits were held in Evansville
to help defray some of the costs of his medical care. The 23-year-old Jason Fred Graham died June 19, 1919 in a Madison hospital.
The life of the young inventor was cut short. His mother, Harriet, and brothers, Lyle, Luther, and Walter expressed their gratitude to the
people of Evansville for their support.
One of Evansville’s most successful inventors, Allen S. Baker, died in January 1916 during an epidemic of influenza, called “La
Grippe”. At the time of his death, Allen S. Baker was one of the most successful businessmen in Rock County.
In politics, Allen Baker was a Republican and he served two terms in the Wisconsin State Assembly. He also served on the Evansville
Village Board of Trustees and several terms as County Board Supervisor.
Baker had also been treasurer of the School District No. 6 and had taken an active part in the operation of the Congregational Church.
He was a member of the National Congregational Council.
Baker also served as president of the Farmers and Merchants State Bank and was one of the organizers of the Evansville Telephone
Company. In his obituary published in the Evansville Review, Baker was described as “a man of rare business acumen, it being chiefly
due to his ability and executive force that the Baker Manufacturing Company has grown to be one of the largest manufacturers of
pumps, windmills, tanks, grinders, wood saws, and other goods and appliances At his service, his employees paid tribute to Baker, the
man who had helped them earn a share of the company. After the funeral service, the men walked in the final procession to the
cemetery. Baker was the last surviving member of the original investors of the engine and windmills that made Baker Manufacturing
Company so successful”.
When the stockholders and officers held their annual meeting in late January 1916, it was not difficult to find a replacement. Allen’s
son, John S. Baker, an innovative businessman, followed in his father’s footsteps and was elected president, treasurer and general
manager of the firm.
John continued as the principal inventor at the company, always seeking ways that the windmills would operate effectively in a variety of
environmental conditions. On June 30, 1916, John Baker submitted an application for another improvement to the company’s vaneless
windmill. Baker said that his new design would increase the life of the wheel parts of the windmill and decrease the amount of
“disagreeable noise” that increased as the parts wore out.
There were more than 60 parts of the windmill that were described in the patent application. Each item played a vital role in the
movement of the windmill, the stability of the windmill as it operated at various wind speeds, and the life-span of the windmill’s parts.
It took more than a year for the patent to be approved. On January 1, 1918, John S. Baker received patent number 1,251,619.
Automobile dealers and a local farmer perfected inventions and submitted patents in the early part of the 20th century. Ray Hyne and
his father Frank operated an automobile dealership in Evansville and Ray pursued the improvement of the shock absorbers used on
vehicles.
On March 13, 1916, Hyne submitted an application for a patent on his shock absorber. Hyne claimed that his invention would create a
smoother riding vehicle as the device absorbed “violent jars which would otherwise be transferred directly from the wheels of the vehicle
to the body.”
Augustus Durner, another Evansville automobile dealer and mechanic, had previously worked on inventions to improve disk
sharpeners. In 1920, he turned his attention to a hand operated punch and shear machine for cutting metal bars, or similar material.
Durner claimed that his new invention would make it easier for an operator to cut materials. Durner had increased the leverage of the
handle, making the machine more energy efficient. The operator did not have to exert much pressure on the handle in order to make
the cut.
Durner submitted his application on June 12, 1920, with his neighbor, wagonmaker Joel W. Morgan and Frank Erdman as witnesses.
The patent was granted on February 15, 1921. It was Durners last invention. He died on May 10, 1924.
Edward Bellman, another Evansville automobile dealer, experienced a great deal of trouble in his life. During the time that he was
perfecting the invention of a lifesaving aquatic machine Bellman was plagued by health problems and a false accusation of arson.
Bellman owned a garage in Evansville with his partner, J. S. Williams. On May 27, 1920, Williams set fire to the garage and when the
arson was discovered by Evansville’s Chief of Police, Fred Gillman and State Fire Inspector, L. M. Shearer, Williams also implicated his
partner in the crime.
Williams and Bellman was arrested on June 5. When the Rock County District Attorney brought Williams and Bellman to court for an
arraignment, Bellman maintained his innocence. “It’s false! It’s false!” Bellman said in Court.
Williams was taken to jail because he could not post bond and Bellman was released to the custody of Chief Gillman. When Williams
was brought to trial several days later, he admitted that he had lied about Bellman being involved. Williams claimed that because of the
“strong arm methods of his examiners in the first examination he implicated his partner in the nefarious work of which he was accused.”
J. S. Williams’attorney tried to enter a plea of insanity on behalf of his client, but after hearing medical evidence, the judge refused to
accept it. Williams was sentenced to five years in the Waupun State Prison and Edward Bellman was freed.
Bellman spent two years perfecting his invention, a machine he described as a “manually propelled life saving device and attachment
for boats.” During this time he was being treated for eye and throat problems.
On April 26, 1921, Bellman submitted his application for a patent. His small boat was made with an aluminum frame and propelled
through the water by bicycle pedals attached to a propeller. On each side of the frame were inflatable tubes that stabilized and floated
the boat when not in motion. The operator of the boat could use it in a sitting position or lying down in the boat.
“One object of my invention is to construct a boat of this kind which will be in the nature of a novelty to be used for various forms of
popular aquatic sports at summer resorts.” The machine weight about twenty pounds and could be attached to a boat or canoe for use
as a rescue vehicle.
Bellman received a great deal of publicity for his new invention that he named a Maricycle. The June 1922 issue of Popular Mechanics
carried an article about the machine. “A Life-Saving Watercycle Folds Into Small Space,” was the title of the article.
The magazine went on to describe the watercycle and its operation, “A watercycle has been invented by a Wisconsin man which can be
used for life-saving purposes or as a pleasure craft for bathers. The frame is made of aluminum tubing and is of knockdown
construction, held together by thumbscrews. Buoyancy is supplied by two air-inflated tubes, in balloon cloth cases, which slip over the
side tubes of the frame. The water cycle is forced through the water by a gear-driven propeller which is operated by bicycle pedals, the
machine being steered by a rudder and handlebar. A “lazyback” is supplied when the cycle is to be used as a pleasure craft. The
different parts of the machine are adjustable to said persons of different build and when dismantled, can be folded and packed in an
ordinary suitcase. The complete machine weights only 20 lb., and when used by a life-saver should develop a much greater speed
than the fastest swimmer.” A drawing of the machine accompanied the article.
At the time the issue of Popular Mechanics was on sale, Bellman was a patient in the Worrell Hospital, in Rochester, Minnesota.
According to an article in the June 1, 1922 issue of the Evansville Review, he was being treated for eye and ear problems.
Bellman had taken a model of his invention to Rochester and it was on exhibit in one of the store windows. The Review reporter noted
that “it is attracting a great deal of attention. Mr. Bellman expects to be back in Evansville about June 10, much improved in health,
after which time, he expects to make arrangements to have the machine manufactured for the market.”
In July, a company that produced short news movies for theaters, filmed Bellman operating the machine at Indian Ford. The film was
title “Evansville, Wisconsin” and was to be shown in hundreds of theaters.
Bellman hoped that the publicity would help sales of the machine. He expected to sell the Maricycle for $35 when manufacturing was
underway. The positive publicity was welcome to Bellman and to the citizens of Evansville. The Review reporter covering the filming
said, it “will be the means of advertising the best little city in the state in an enviable manner.”
Another Evansville area inventor turned his attention to improving farm equipment. Wilbur Andrew was a Magnolia township farmer and
he was credited with two inventions, both approved on the same day, June 29, 1920.
His father, Wallace B. Andrew and Barton W. Snyder witnessed the application. The patent was granted on June 29, 1920 the same
day that he received a patent for an automatically filling water bowl for farm animals.
Adam Apfel submitted a patent for a sanitary sugar dispenser for restaurants and lunch counters. Apfel’s invention was an economical
and disease preventing apparatus. The dispenser kept dust, flies, and insects from getting into the sugar. His application claimed that
the dispenser would also prevent wasting sugar.
Apfel said that his container was a glass bowl with an opening at the top for filling the dispenser. The opening at the bottom was a tube
with a lever that allowed customers or restaurant servers to release one spoonful of sugar at a time.
The Sanitary Sugar Server patent requested by Adam Apfel was granted on October 3, 1922.
Max Phillips graduated from the Evansville High School in 1914. He was the son of Russian immigrants. Phillips graduated from the
University of Wisconsin and in April 1917, after passing a rigorous examination he was appointed a chemist with the United States
Department of Agriculture. An April 11, 1917 Janesville Gazette article described him as an “indefatigable worker and a brilliant
student.”
Three years after taking the job, Max Philips, “a citizen of the United States, and an employee of the Department of Agriculture, residing
in the city of Evansville, county of Rock, State of Wisconsin” received his first patent. The patent was issued March 2, 1920, number
1,332,680 for “synthetic manufacture of Thymol.” The Thymol.was used as an ingredient for antiseptics and disinfectants and slowed
fermentation in milk, gum, or gelatin.
On March 21, 1921, Max Phillips and another chemist with the Department of Agriculture, Gerald H. Mains, of Detroit, Michigan
submitted a patent for formulas to create resins from various chemical compounds of furfural, a byproduct of corn, grains, and other
plant materials.
In the decade before World War I, the United States government chemists experimented with corncobs and other agricultural waste to
make furfural. It was an attempt by the U. S. Government to reduce American manufacturers’ reliance on foreign imports. By using
synthetic ingredients the chemists were trying to create rubber, resins and other materials.
In a June 13, 1922 article in The New York Times, an article headline read, “Make Hard Rubber Out of Corn Cobs; Chemists Also
Obtain Synthetic Resin Products and Motor Fuel from Them.” The article described six years of research with results that included “the
perfection of methods for producing a chemical compound known as furfural at a low price and by a simple process from corn cobs.”
Phillips and Mains experimented with furfural and acids. They described in the patent submission the development of nine resins using
furfural and various chemical compounds. The first formula was described as follows: “One part by weight of furfural and two parts of
meta-nitroaniline are heated together at 150 degrees for one hour and 15 minutes at atmospheric pressure. The product when cooked
at 25 degrees C is a black, hard, brittle resin.”
Other combinations of furfural and chemicals, processed for various periods of times and temperatures produced resins with a variety
of colors, from red to brown and various degrees of hardness. In one of the nine combinations described in the patent application, the
chemicals were allowed to stand at room temperature and after several hours, still produced a dark brown, hard, brittle resin.
The patent number 1,441,598 was granted to Phillips and Mains on January 9, 1923. Their experiments led to others and today resins,
produced with furfural and various acids, are used to make fiberglass, aircraft parts and automotive brakes.
A third patent submitted by Phillips was with another employee of the Department of Agriculture, Marshall J. Goss, of Ashland, Ohio.
Again, Phillips was experimenting with plant products. The men said in their application that they had developed a new and useful
varnish and paint remover using an aromatic hydrocarbon, a byproduct of wood pulp.
Phillips and Goss described 6 combinations of p-cymene and various chemicals that could be used for removing paint and varnish. The
combination that they preferred was p-cymene and 95% ethyl alcohol.
The men suggested that when this mixture was applied to a surface and allowed to remain for two or three minutes that the varnish
could be removed with a cloth. On a painted surface they explained that the mixture should be left a few minutes longer and then the
paint would become soft. Then the paint could be “readily removed by means of a knife, scraper, or stiff brush.”
Max Phillips and Marshall J. Gross were issued a patent for their varnish and paint remover formulas on April 13, 1926. He could not
receive any payment or royalties for his inventions. The patent application said, “The invention herein described and claimed may be
used by the Government of the United States or any of its officers or employees in the prosecution of work for the Government, or any
person in the United States, without payment to me of any royalty therein.”
Max Phillips moved to Washington, D. C. He was responsible for a number of articles for scientific journals including the Chemical
Review, the Journal of American Chemical Society, and the Journal of American Chemistry. Most of his writing was related to the
processes of deriving synthetics from plant material.
Another Evansville area man earned national acclaim for his work as a scientist. Fordyce Tuttle was born in the Brooklyn area. He
graduated from the University of Wisconsin and was married to Eleanor Porter, the daughter of Mr. and Mrs. J. P. Porter in August
1926.
One of the wedding guests was another Evansville inventor, John Baker, president of the Baker Manufacturing Company. Another
wedding guest was Mrs. Clifton Tuttle, of Rochester, New York.
At the time of his marriage he was a physicist working for Forest Products Laboratory in Madison. On their honeymoon, Fordyce and
Eleanor visited Rochester, New York, the home of the Eastman Kodak Company.
Fordyce’s brother, Clifton Tuttle was an employee of the Eastman Kodak Company and the next year, in 1927, Fordyce Tuttle began a
long career with Kodak. He was hired as a physicist in the development department of Kodak.
His first patent was filed in 1928, but it was not approved until September 5, 1933. Fordyce and Clifton M. Tuttle assigned the patent to
the Eastman Kodak Company. The two men had invented an electrical relay system that was used to print movie film and negative film.
The following year, Clifton and Fordyce Tuttle submitted another application for a patent that would regulate the intensity of light in
various photography situations. In the late 1920s and early 1930s, electrical systems used for photograph or movie projection systems
were not always stable.
In cases where artificial light was operating on alternating current, there were often voltage changes causing variations in the intensity
of the projector light. The device the two brothers invented would prevent fluctuation of the intensity of light, even in situations where
there were changes in voltage.
In the 1940s, Fordyce Tuttle was named to the National Defense Research Committee and assigned research projects in optics. This
Committee was reorganized in December 1942 to develop Optics and Camouflage. This Division was divided into four sections, Optical
Instruments, Camouflage, Infrared, and Illumination and Vision. Fordyce was also assigned to the Physics Division.
When the United States entered World War II, the country was poorly prepared for the optical instruments that were needed to fight the
war, including airborne cameras, telescopic sights, binoculars, night vision instruments, sighting devices for guns and other types of
optical instruments.
The Committee on Optics and Camouflage was assigned the job of improving the equipment and speeding up the production of optical
equipment for the war. At the urging of Brian O’Brien, a member of the National Defense Research Committee and leading physicist at
Rochester University, Fordyce Tuttle taught classes in instrument design at the Institute of Optics.
In 1943, Fordyce Tuttle was made superintendent of special products for Kodak. That year, he worked with Joseph Mihalyl, another
employee of the Eastman Kodak Company, to develop and patent devices that assisted gunners, including a range finder and a device
that allowed artillery gunners to hit a target based on tracer fire.
For his work during the war he received three government awards, including the Presidential Certificate of Merit. In 1943 he was made
Kodak’s superintendent of special products in camera works. In 1945, he was named general superintendent of the Navy Ordinance
Division and general superintendent of development and engineering for Camera Works.
In addition to his work with the National Defense Research Committee, Fordyce Tuttle also served in the U. S. Naval Bureau of
Ordinance during World War II.
For his work as Chairman of the National Security Industrial Associations’ anti-submarine warfare advisory committee, he was awarded
the highest civilian medal the Navy offers. The Navy gave him a Citation of Merit in 1960. In 1962, he was given the Distinguished
Public Service Award for his work in anti-submarine warfare technology.
Although he had retired from Kodak in 1968, he was retained as a science advisor for the company. Fordyce Tuttle died in November
1969.
Tuttle held more than 20 patents for inventions in motion picture, high speed photography, and military applications of optical devices.
One of the last patents was received in September 1972, for work that he had completed on an underwater reconnaissance system.
According to the patent, the reconnaissance system had a high intensity scanning light and an image motion compensated camera
mounted on a mobile platform. “The camera and light source are so positioned with respect to each other optically on the platform and
the body of water to be photographed that the camera will receive very little specular light reflections from the water if photographed
from the air and very little back scatter from underwater illumination if photographed from a submerged platform”.
His wife, Eleanor Porter Tuttle, the executrix of his estate, received the patent on behalf of her deceased husband.
Conrad Conradson passed his love for invention on to his son, Prentice. The father and son inventors were responsible for at least 15
patents.
Prentice was named for his grandfather Harvey Prentice. Three generations of the Prentice/Conradson family owned and lived in the
house at 7 North Fourth Street.
Conrad Conradson was born in the Brooklyn area. He attended the University of Wisconsin and graduated in 1881 with a degree in
Mechanical Engineering.
Before he graduated, Conrad and a classmate, Frank Winkley invented improvements to the windmill and had a small windmill
manufacturing business during their college years. Conradson and Winkley were later associated with John A. Johnson, the founder of
the Gisholt Machine Company in Madison.
After his graduation from college in 1881, Conradson married Estella Prentice, an Evansville High School and University of Wisconsin
graduate. The Conradsons moved to Milwaukee. Conrad worked for the E. P. Allis Company and was considered one of America’s
best mechanical engineers.
Conradson developed a heavy duty turret lathe that was able to grind precise castings. There was no other machine being
manufactured that was so versatile. The lathe could grind eighteen-inch to twenty-four-inch castings.
John A. Johnson was already operating the Fuller Johnson Company, a manufacturing firm that made machines for making parts for
agricultural implements. Johnson offered Conradson the opportunity to work in the new factory he was building in Madison.
Conradson left Allis and joined Johnson, serving as the shop superintendent and vice president of the Gisholt Machine Company.
Several years after he went to work for Gisholt, Conradson seemed in a rush to get patents in his own name. The lathes, although
unique to the market were not selling well. The Gisholt Company was planning to display the machines at the Columbian Exhibition in
Chicago in 1893.
Perhaps Conradson wanted recognition for the work that he had done on the lathes. He submitted many applications for patents, in
anticipation of the exhibit. The Gisholt Company won a bronze medal for good design at the Chicago Fair.
Conradson’s patent applications submitted in the early 1890s were for lathes and related machinery. A feeding device for lathes was
submitted for approval on January 29, 1892 and patent number 419,674 was granted on June 21, 1892. Conrad said in the application:
“My invention relates to screw-machines and has reference more particularly to a novel construction and arrangement of devices for
feeding, centering, and holding the material operated upon.”
Within three months of the feeding device application, Conradson submitted two patents in March 1892, one for an automatic chuck and
rod feeder on March 19, 1892. Five days later, he submitted another patent related to improving a lathe on March 24, 1892.
There were 10 pages of drawings and six pages of narrative describing the lathe design. Both patents were granted on January 31,
1893, number 490,853 and 490,864.
The lathe feeding apparatus application Conradson submitted on May 19, 1892 was a design for “feeding the stock or material in screw-
cutting lathes.”
For the lathe itself, Conradson said in the patent application introduction, “my invention relates to lathes or machines designed more
particularly for the manufacture of screws and similar articles, although the invention is applicable to other classes and styles of
machines.”
A few months after submitting the patent for the lathe, Conradson submitted a patent for headstock in November 1892. The patent was
approved May 16, 1893.
The introduction to patent number 497,630 included the following description: “My invention relates to lathes and have reference more
particularly, but not necessarily, to screw machines or similar machines in which the rod or stock to be acted upon is fed through a
hollow arbor in the headstock. The present invention comprises a variable speed gear for imparting motion to the arbor or spindle.”
Conradson lost interest in the manufacturing business with Johnson and the Gisholt Company. In 1895, Conradson left the Gisholt
Company and started the Northern Electrical Manufacturing Company. He wanted to manufacture electric motors.
Conradson’s factory was just a few blocks from the Gisholt buildings in Madison. The factory was in Madison’s industrial area, bordered
by Wilson, Dickinson, Railroad and Thornton Streets.
The partners in the Northern Electrical Manufacturing Company included William F. Vilas, A. O. Fox and D. Jackson. The company
started with a capital stock of $50,000. Within seven years, the company had 350 employees with income of more than a million dollars
a year.
Although he was no longer manufacturing turret lathes, Conradson continued to design changes to the machines. He submitted an
application for an improvement to the machine in February 1899 and it was granted the patent on December 26, of that same year.
Conradson said that his new lathe was adapted to do heavy work, “not usually performed by turret lathes”. Conradson assigned his
new turret lathe design to the American Turret Lathe Works Company of Cincinnati, Ohio.
In the early 1900s, Conradson applied for patents on two inventions that were far removed from the turret lathes. The first was a non-
refillable bottle. The application for the patent was submitted in October 1905.
The following April, he submitted a patent for a bottle stopper fastener. Both were assigned to Vernette E. Prentice, of New York.
Vernette was the oldest brother of Conrad’s wife, Stella. Conrad Conradson gave his address as Manhatten, New York.
In 1907, Conrad had returned to Madison, Wisconsin and submitted another application for a device more in keeping with his earlier
work. The invention was a grinding machine feeding mechanism. The patent was granted on May 17, 1910 and again, Conardson
assigned the patent to Vernette E. Prentice of New York.
By the 1920s, Conradson returned to Wisconsin and divided his time between Green Bay and Madison. Conrad’s wife Stella was a
frequent Evansville visitor. After the death of her sister, Della Prentice Bennett, Stella owned and often stayed in the house at 7 North
Fourth Street.
The father and son, Conrad and Prentice Conradson, submitted a joint application for a patent for a paper towel design in July 1920.
Both gave their residence as Madison, Wisconsin.
The towel was designed with “rough, broken edges which will rapidly absorb the moisture when the towel is rubbed over the hands or on
the face.” The patent was approved on July 12, 1921.
Within a couple of years, Prentice submitted two patents on February 15, 1923. He began both applications for the patents with the
usual introduction, stating his name, residence and name of the invention: “Be it known that I, Prentice Conradson, a citizen of the
United States, residing at Evansville, in the county of Rock and State of Wisconsin, have invented a certain new and useful grinding
machine….”
Like his father, Prentice was interested in designing tools for making parts of machines. Prentice described his invention as a grinding
machine of a “novel type” used for “grinding the bores of bushings, gears and various other parts.” Twelve sheets of drawings
accompanied the application.
The grinder designed by Prentice was assigned to the Giddings & Lewis Machine Tool Company of Fond Du Lac, Wisconsin. The
second patent application submitted that day also related to a grinding tool assigned to the Giddings & Lewis firm. The first patent was
approved as number 1,534,301 on April 21, 1925 and the second on April 28, of the same year as patent number 1,535,452.
The second patent was a grinding machine improvement with a spindle carriage and an improved “means for driving the spindle, for
starting and stopping rotation of the spindle, and for adjusting the spindle to different positions about a vertical axis to permit grinding
taper work.”
Prentice, noting his address as Chicago, Illinois, submitted another application for a patent in 1925. He assigned the rights for the
reamer, a metal cutting tool, to the Conradson Tool Corporation of Detroit, Michigan. The application was approved on March 31, 1925.
When Estella Conradson died in 1929, Prentice was living in Chicago and her husband, Conrad was living in Green Bay. Prentice
divided his time between his home in Chicago and the old family home in Evansville.
In 1937, Conradson had a new invention to submit for a patent. For years, inventors had been trying to develop an automobile jack
that could be attached to the bottom of the vehicle and dropped into place when needed. This would “avoid the inconvenience of place
a jack under an automobile each time it was to be raised.”
Earlier inventions had four jacks mounted on the frame of the automobile. The jacks were located at each corner so that one corner of
the vehicle could be raised.
Prentice Conradson’s invention was an automobile jack “which is to be permanently located underneath the body and which is adapted
to be carried when inoperative position, in such a manner that full road clearance is provided beneath the automobile. The jack would
lift one side of the vehicle, rather than one corner. “A further feature of this invention is the ease with which the jack can be actuated
when in operative position.
Prentice’s jack was accepted as a new invention and his patent was granted on June 6, 1939.
Conrad Conradson’s final patent was issued posthumously. He applied for the patent on January 29, 1940 a machine tool attachment
for cutting micrometer screws. Conrad Conradson died in May 1940 and was buried at Maple Hill Cemetery in the Prentice family lot.
Frank D. Winkley attended his friend and fellow inventor’s funeral. He told the Evansville Review reporter that “Mr. Conradson’s
invention of the turret lathe laid the foundation for the Gisholt foundry in Madison which now employs 900 men.” Conrad’s final patent
was granted on June 29, 1943.
Prentice Conradson applied for two more patents before his death in 1954. Both patent applications list his address as Chicago,
Illinois. A timing and temperature control device for a toaster was applied for in 1947 and granted in November 1950.
The final patent applied for by Prentice Conradson was a grinder gauge. The gauge measured electronically the hole being ground to
determine if the hole was the proper depth and width. The application noted that the grinders currently in use required that the
operator stop the machine frequently so that the size of the hole could be determined.
Starting and stopping the machine was time-consuming and Conradson felt that his new gauge would eliminate this process. The patent
office granted Prentice’s patent on August 4, 1953, a year before he died.
There was only a small obituary for Prentice H. Conradson in August 1954. “Prentice H. Conradson, about 60, former local resident died
this morning in Chicago. Funeral services will be held Monday morning in the Malony Funeral Home, Chicago.” Following the Chicago
services, Rev. John Walker, Evansville’s Methodist Church minister, conducted graveside rights at Maple Hill Cemetery.
John and J. Gordon Baker - the 1930s
Until the end of his life, John Sayres Baker, son of one of the founders of the Baker Manufacturing Company in Evansville, created
improvements to the windmills. As President of the Company, John followed in his father, Allen S. Baker’s footsteps. John managed
the company and he remained actively involved in designing the best possible product.
In the 1930s, John S. Baker submitted two patent applications. One was filed on July 31, 1930 for an improvement in lubricating the
worm gears used in the self-oiling windmills. These gears wore out quickly, according to the patent narrative.
The wear was due partly to the design of the gears and partly to the lack of lubrication. John’s improvements addressed both issues
and prolonged the life of the gears and the bearings associated with the gears.
The company’s brochure for the Monitor windmills described the self-lubricating mechanism as a “flood of oil for principal bearings. The
lower part of the crank gear dips in oil and carries it up to a large ring resting continuously on the gear. The ring elevates about fifty
drops of oil a minute, which is distributed to the upper bearings and the outer wheel bearing. Surplus oil from the latter returns to the
gear case through a drain under the wheel shaft.”
John’s patent, 1,884,511 “windmill construction” was granted more than two years after the application was submitted. On October 25,
1932 he received the patent.
The final patent submitted by John Baker was filed on January 19, 1931. It was for another improvement to the windmill. The new
design perfected the swivel of the windmill so there was better control over the movement of the machine in and out of the wind. The
patent, number 1,917,631 was granted on July 11, 1933.
Baker advertised that old mills could be rebuilt using the new designs. “Wheel sections, spokes, vane angles and vane from an old 8
foot mill will fit the new 8 foot mill. Using these parts with one of the new mill heads reduces the cost of a complete mill, yet it gives a
man a much better mill than he had in the beginning.”
John S. Baker was so confident that the company’s products were well built that he placed a guarantee on the windmills. “We
guarantee them to withstand any storm that does not damage substantial buildings and other windmills in the immediate vicinity,
providing mill and tower are erected in accordance with our printed instructions, properly anchored and well cared for.”
The parts guarantee was good for one year, but did not include damage to a mill cause by failure of a tower that was not made by the
Baker Manufacturing Company. The guarantee also did not include damage to the mill or tower if it was not properly anchored or
damage to any adjacent property.
In the 1930s, John Baker's health began to fail. He had suffered for many years from hay fever and asthma. In April 1938, he died at
his home on West Main Street.
John Sayres Baker was eulogized in a lengthy Evansville Review article. He was credited with designing the profit sharing plan for Baker’
s employees. "With Mr. Baker's wise and careful policies in factory management, and his financial advice, the company has not missed
a single dividend payment on its stock. The manufacturer leaves hundreds of friends throughout the community."
John was frequently asked to speak to business groups about the stock sharing plan. At least one of his speeches was published.
“Industrial Relations or Twenty Years of Co-operation Between Capital and Labor,” was published after he made the speech at the
Second Annual Industrial Service Conference, held at Milwaukee, Wisconsin on April 28, 1919.
His obituary also noted: “He has aided in the continual development and improvement of the designs for farm pumping equipment. Mr.
Baker’s pumping line as it stands today is outstanding in its originality and is acknowledged for its service, not only in this country, but in
foreign countries.”
His obituary noted that he had submitted his first patent in 1889 and had always turned his patents over to the Baker Manufacturing
Company. The company’s products had been continuously improved during John’s more than 40 years of employment and
management of the firm.
John Baker was considered eccentric by some of the shop workers. Others described him as being reluctant to delegate authority.
John kept very few written records. He depended on his memory for the important details of running the business.
Employees of the company told an Evansville Review reporter that John S. Baker had developed many original designs. Although many
of the innovations were incorporated into the company’s windmills and other equipment, some were never submitted for patents.
John S. Baker’s son, Cleland Baker, was named as president of the company. Cleland’s brother, John Gordon Baker, usually called
Gordon, was working in Pittsburg for Westinghouse in their research and development department at the time of his father’s death.
Gordon graduated from the University of Wisconsin in 1928 with a degree in Mechanical Engineering. Following his graduation, he went
to work for the Westinghouse Research Laboratories and sometimes returned to the University of Wisconsin to try and recruit engineers
for Westinghouse. .
While working at Westinghouse, Gordon pursued his Master’s degree in engineering at the University of Pennsylvania in Pittsburg. One
of his fellow workers, Edward G. Fischer described Baker was “made of the same right stuff as George Westinghouse himself.”
According to Fischer, Baker often relied on his intuition when designing machines.
The time between 1928 and 1938, when Gordon was working for Westinghouse Research Laboratories, was considered one of the
most inventive periods for the company. Baker produced “a whole array of exceptional devices,” Fischer said in his article “Applied
Mechanics at Westinghouse.”
During this time, J. Gordon Baker was credited with participating in at least two patents submitted for Westinghouse. The first patent
was for a high speed electric motor assembly submitted on July 12, 1935, with three Westinghouse researchers, Frank Rushing,
Stanley Mikina and Harry D. Else. This patent was granted on February 14, 1939.
A second patent was submitted for a balancing machine. Baker and Frank C. Rushing worked on the machine and submitted the patent
on May 12, 1937. The balancing machines were displayed at the International Tool Show and “created a sensation.” The company
expected that they might be able to sell 200 machines, and instead received an order for that amount from just one company.
According to Fischer, Baker invented a spring suspension and damper system that revolutionized the home laundry business for
Westinghouse. Previous designs of Laundromat style washing machines for home use had not been satisfactory. The machines
vibrated so much that they had to be bolted to cement floors. This made them impractical for homes without cement floors in their
basements and most apartments.
Gordon Baker wrote a paper about his new system that was published by the American Society of Mechanical Engineers. The paper:
“Mathematical Machine Determination of the Vibration of Accelerated Unbalance Rotor,” and few realized that it was about a home
washing machine, according to Fischer.
Gordon published several papers related to vibration control. Another Baker paper was published in the first issue of Applied
Mechanics, dated January-March 1933. “Self-Induced Vibrations” contained information about shaft whirl, bearing oil whip, toy boat
propulsion, the inverted pendulum and transmission line galloping.
Fellow workers at the Westinghouse Research Laboratories remembered that Gordon Baker was hard working and when he had an
idea, he wanted to be in his lab. Gordon would often work weekends and evenings. If the gates to the complex were locked, he would
jump fences and squeeze through guardhouse windows to get to the laboratory.
In late 1938, J. Gordon was called home to help manage the Baker Manufacturing Company. At the annual meeting of the stockholders
in February 1939, he was elected to the position of Vice President of the company. With Cleland Baker serving as President and
Treasurer of the company and his brother, Gordon, performing his duties as Vice-President and Chief Engineer, the company made
progress in sales and in new designs for the company’s products.


Combs' disk sharpener in action in
front of Reckord's Blacksmith Shop,
Evansville, Wisconsin
The first was submitted on July 7, 1919. Andrew had
invented an adjustable gambrel, a metal bar with
hooks, to support animal carcasses of various sizes,
during butchering. It could hold the weight of a calf
carcass or be adjusted to hold the weight of a large
beef carcass.
Many farmers butchered their own animals at the time
that Andrew developed his adjustable gambrel.
Andrew said that his new invention would “minimize
the possibility of injury when in use, while the very
simplicity of construction will also minimize the cost of
production thereof.”
Andrew’s application stated that the device was “an
adjustable gambrel wherein the movable hook is
provided with a pawl engaging notches in a rack bar
so that the adjustable hook will be retained in an
adjusted position along the rack bar, thus causing the
hooks to be spaced apart at a desired distance as the
circumstances may require.”

The water bowl had a spring at the top and a
water supply pipe with a valve at the bottom.
When the tank was full, the valve shut off the
water supply. As the animal drank the water
and the bowl emptied, the spring raised the bowl
and the valve and the water supply opened.
Water from the supply pipe filled the bowl.
Andrew’s invention gave the animal a constant
supply of water, without any labor on the part of
the animal’s caretaker. This was a great time
saving device for the farmer. According to the
application for the patent, the device was easy
to assemble and take apart. The height of the
drinking bowl could also be adjusted on the
support pole, to accommodate the height of the
animals.
Surveillance from airplane or submarine
developed by Fordyce Tuttle


The first woman in the Evansville area to apply for a patent
was Emma C. Fisher. She was a farm wife, living in Center
township.
Her invention was a portable steamer for cooking meat and
vegetables.
Church dinners, family celebrations and other events were
challenging for housewives, if they wanted to take hot dishes
to share. Transporting food by horse and buggy from home
to another location often meant a long ride. Food that was
hot when prepared at home was often cool by the time it
reached its destination.
The cooker needed to be large enough to cook food for a
crowd and yet light enough in weight that it could be easily
carried from home to the church supper or other social event.
Emma Fisher claimed that the cooker would work on any
stove, whether it was heated with gas, wood or oil.
The cooker was made with metal of the manufacturer’s
choice. She suggested tin, brass or iron. The bottom of the
cooker held hot water that created steam around two separate
compartments on the inside of the cooker. Two dishes could
be prepared at the same time, perhaps a meat dish and a
vegetable dish. Small sliding metal pieces in the lid could be
opened to allow steam to escape.
According to Emma Fisher’s description in the patent
application, the steam cooker could also be used as a
warming device for containers filled cooked food. Emma
Fisher applied for the patent in December 1892. It was
granted in October 1893.